Adjusting Cotton Fan Belt and Guides

causym CAUTION: If engine is running and fan belt is engaged, you or others can become entangled resulting in serious injury or death. Before making belt adjustments, make sure engine is stopped, park brake is engaged and key is removed.

IMPORTANT: Belt damage can occur. Correct belt tension MUST be maintained to avoid premature wear.

1. Engage fan drive.

2. Turn key "Off" and remove from switch.

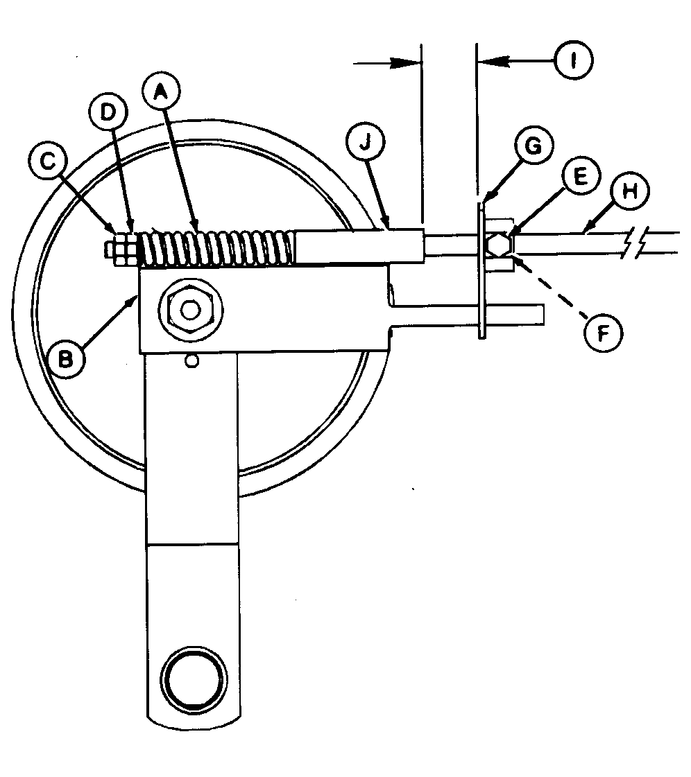
3. The end of spring (A) MUST be flush with gauge surface (B). Adjust as follows:

  • Loosen jam nut (C) and adjusting nut (D).
  • Adjust nut (D) to gauge surface (B).
  • Loosen cap screw (E) and jam nut (F) in strap assembly (G) and move on actuator rod (H) until a 25.4 mm (1 in.) gap (I) exists between strap assembly and spacer (J).
  • Recheck gauge surface to make sure spring is still flush with it.
  • Tighten cap screw (E) and jam nut (F). Tighten cap screws to specifications.

Specification

Cap Screw -Torque 47 N·m (35 lb-ft)
  • Tighten jam nut (C)

NOTE: Be sure nuts that retain strap which holds actuator rod in place are tight to prevent rotation when linkage is extended or retracted.

4. Operate fan at full speed, slow engine to idle, disengage fan, and recheck guide and belt.

5. If fan is operating with switch disengaged, stop engine and adjust idler linkage.

TS285
N42152MC


A-Spring
B-Gauge Surface
C-Jam Nut
D-Adjusting Nut
E-Cap Screw
F-Jam Nut
G-Strap Assembly
H-Actuator Rod
I-25.4 mm (1 in.) Gap
J-Spacer

AG,OUO1011,1164 -19-08SEP99-1/3


6. Check clearance between guide pin (A) and fan belt. Belt clearance should be 3 mm (1/8 in.). If necessary, loosen cap screws (B) and rotate guide to adjust.

Specification

Guide Pin-to-Fan Belt -Clearance 3 mm (1/8 in.)

7. If guide pin is not perpendicular to fan belt, remove guide. Add or remove 13/32 x 13/16 x 0.060 in. washers as needed to properly position guide.


A-Guide Pin
B-Cap Screws

N58585

AG,OUO1011,1164 -19-08SEP99-2/3


8. Check fan belt (B)-to-lower guide (A) clearance at three places. Clearance between front edge of belt and guide should meet specification (C) when belt is engaged.

Specification

Fan Belt-to-Guide -Clearance 2-4.6 mm (0.080-0.180 in.)

To adjust, loosen two cap screws (D) on each side and move guide.

9. Adjust belt cap screw (E). Cap screw should just clear belt on engine side. Clearance between cap screw and edge of belt should not exceed specification.

Specification

Cap Screw-to-Belt -Clearance (MAXIMUM) 3.2 mm (0.125 in.)


A-Lower Belt Guide
B-Fan Belt
C-Clearance 2-4.6 mm (0.080-0.180 in.)
D-Adjusting Cap Screws (2 per side) (2-of-4 Shown)
E-Belt Cap Screw

N51087
N51088
N42189EN

AG,OUO1011,1164 -19-08SEP99-3/3