Main Drive Shear Pin

1. Raise machine off ground.

2. Remove wheel from hub.

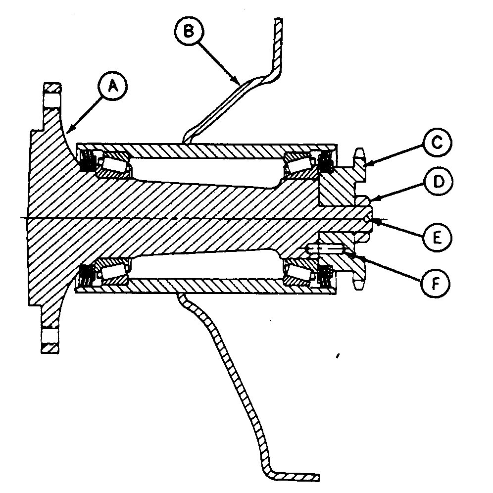
3. Remove cotter pin (E) and slotted nut (D) holding main drive sprocket (C).

4. Pull out axle hub and replace shear pin (F).

5. Before assembling, check bearings for wear and grease. Tighten slotted nut to specification.

Specification

Slotted Nut -Torque 81 N·m (60 lb-ft)

6. If unable to remove shear pin, drill a 7 mm (17/64 in.) hole through drive sprocket at approximately the same distance from center as the original hole. Replace drive sprocket and use it as a guide to drill hole in axle.


A-Axle
B-End Plate
C-Drive Sprocket
D-Slotted Nut
E-Cotter Pin
F-Shear Pin

N28865

AG,OUO6074,1027 -19-09MAY00-1/1