Adjusting Floor Chain Tension

N42166BV


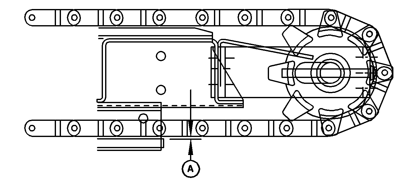
A-Wood Runners
B-Chain Tension Cap Screw

Recommended Service Interval
Check Chain Tension, Adjust As necessary Every 10 Hours

 

IMPORTANT: Damage to chains, sprockets and bearings can occur if chains are not adjusted to enable proper operation.

1. With basket in lowered position, chains should just touch wood runners (A) at right side of basket (4 locations). Adjust using chain tension cap screw (B).

2. Tighten slats attaching hardware to specification.

Specification

Conveyor Slats Attaching Hardware -Torque 28 N·m  (22 lb-ft)

N56660

Right Rear Chain Tensioner Shown

OUO6043,0001482 -19-01JUN04-1/1