Install Knock Out Scraper for Rigid Standard

Knock out scraper attaches to rear gang tube and is used to prevent soil buildup.

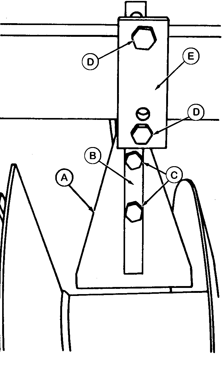
1. Attach blade (A) to arm (B) with 5/8 x 2-1/2 in. cap screws (C) and lock nuts.

2. Attach arm to rear gang tube with strap (E) and 5/8 x 8 in. cap screws (D) and lock nuts.

3. Set scraper a distance of 6.4-9.5 mm (1/4-3/8 in.) away from spool.


A-Blade
B-Arm
C-Cap Screws, 5/8 x 2-1/2 in. and Lock Nuts (2 Used)
D-Cap Screws, 5/8 x 8 in. and Lock Nuts (2 Used)
E-Strap

N42188RD

NXH8,63730,1AQ -19-30NOV98-1/1