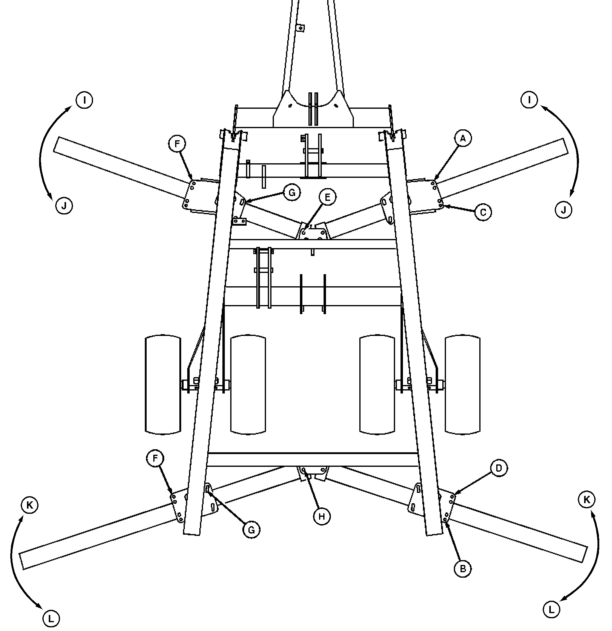
Adjusting Gang Angle Diagram -Rigid Only

N59032


A-Front Gang Front Hole (PRIMARY Position)
B-Rear Gang Rear Hole (PRIMARY Position)
C-Front Gang Rear Hole (SECONDARY Position)


D-Rear Gang Front Hole (SECONDARY Position)
E-Cap Screw
F-U-bolt


G-U-bolt
H-Cap Screw
I-Front, PRIMARY Position
J-Front, SECONDARY Position


K-Rear, SECONDARY Position
L-Rear, PRIMARY Position

NXH8,M60920,GA4 -19-20JUL98-1/1