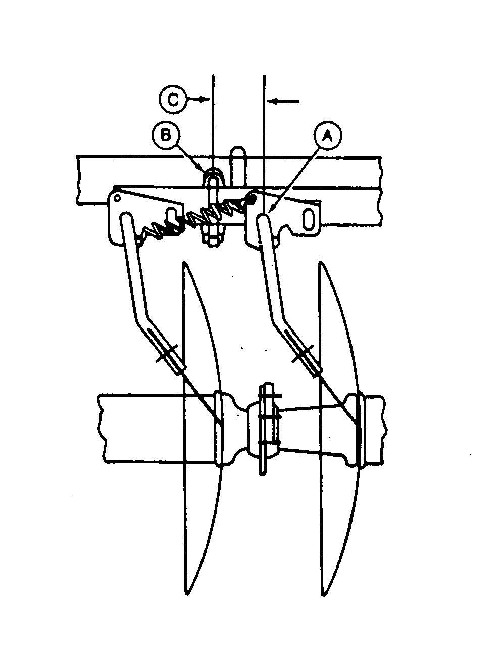
Scraper Tube Position

When installing scraper tube on standards, distance from center of scraper arm (A) to center of hook-bolt (B) on standard should measure (C):

Model Dimension (C) ± 6.3 mm (1/4 in.)
WheatLand/Rock
C-Spring Standard
89 mm
(3-1/2 in.)
Rigid Standard
9 in. Spacing
83 mm
(3-1/4 in.)
Rigid Standard
7-1/4 in. Spacing
44 mm
(1-3/4 in.)

 


A-Scraper Arm
B-Hook-bolt
C-Measurement

N41022AA

NXH8,M63760,ZD1 -19-09JUN98-1/1