Positioning Drawbar

causym CAUTION: Avoid personal injury or death to you or others due to losing steering control of machine. Always pin drawbar in center position for ALL tractors when transporting machine.

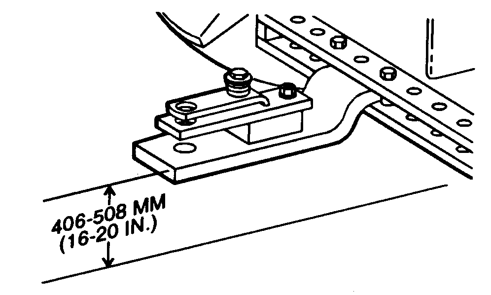
Place drawbar in fixed, centered and down position, 406-508 mm (16-20 in.) from ground to top of drawbar, centered as shown.

N39084
N42142BN

NX,637PDB,AZ1 -19-19APR99-1/2


For Trac-Tractors and Four-Wheel Drive Tractors, leave one hole clearance on each side of drawbar for FIELD OPERATION ONLY.

IMPORTANT: Pin in center position for transport. Hitch damage can occur in field if drawbar is pinned solid.

N50208

NX,637PDB,AZ1 -19-19APR99-2/2