Shim Installation Guidelines for Field Performance-Folding Machines Only

1. If required, shims were installed at set-up per shim chart.

NOTE: After removing or adding shims, re-level machine side-to-side. (See BEFORE ENTERING FIELD in this section.)

2. If adjustment of wing gauge wheel will not eliminate wing gouging in extremely hard ground conditions, shims may be removed.

3. Re-shim per chart if harrow is removed.

NX,637SC99,MGS -19-20APR99-1/2


NOTE: (See SHIM LOCATION DIAGRAMS on following pages for additional shim placement information.)

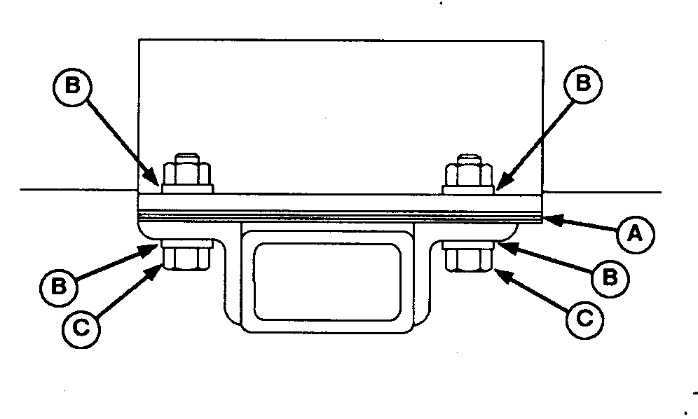
4. Install shims (A) at frame joint between frame and gang, at locations shown on shim charts on following pages.

5. Tighten hardware to specification.

Specification

Hardware -Torque 407 N·m  (300 lb-ft)

NOTE: No shims are required for 10.6 m-11.6 m (35 ft -37 ft 10 in.) machines.


A-Shims (See Charts)
B-Washer
C-Cap Screw, 3/4 x 3 in.

N44573
N39871

Shim

N42188KA

Spacer Plate (N242058)

NX,637SC99,MGS -19-20APR99-2/2