Rigid, 3.5 M (11 Ft 5 In.), 184 mm (7-1/4 In.) Spacing, Rigid Standard

N59033


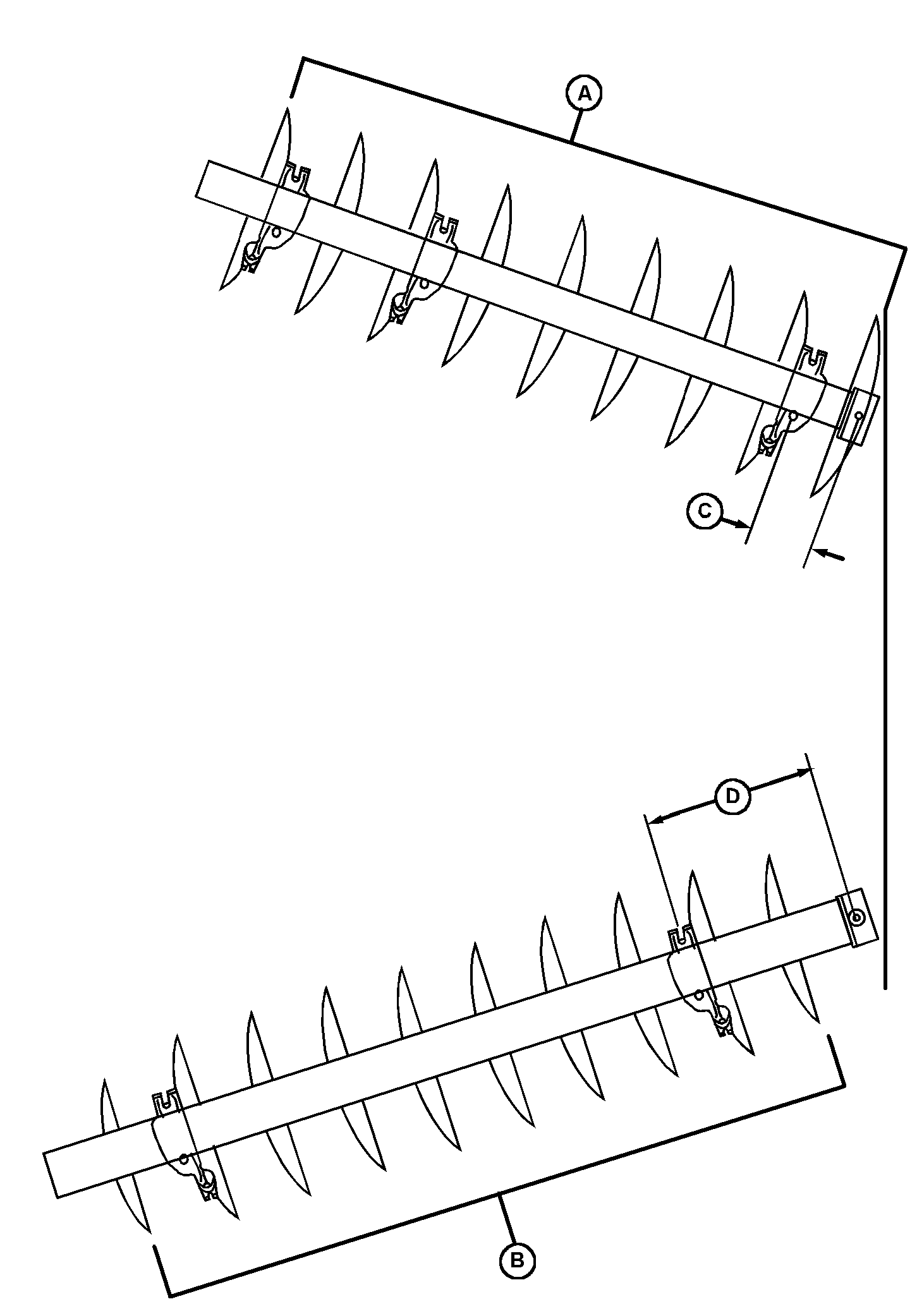
A- 9 Blade Gang


B-10 Blade Gang


C-144 mm (5.65 in.)


D-436 mm (17.18 in.)

NX,726DG1A,MGS -19-19APR99-1/1