Narrow, 5 M (16 Ft 5 In.), 229 mm (9 In.) Spacing, Rigid Standard

N59897


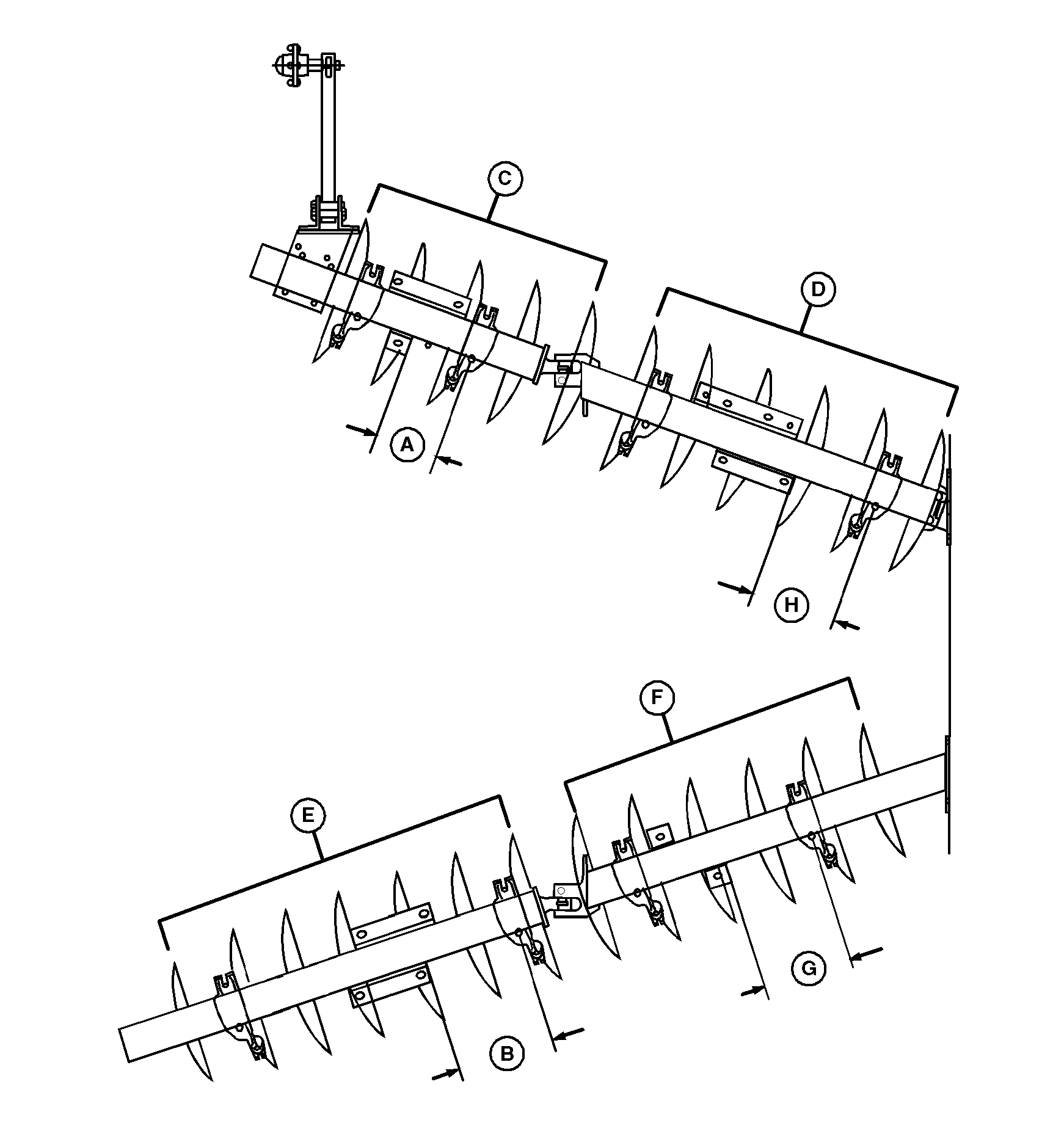
A-Width Dimension (See Chart)
B-Width Dimension (See Chart)


C-5 Blade Gang
D-6 Blade Gang


E-7 Blade Gang
F-6 Blade Gang


G-332 mm (13.08 in.)
H-315 mm (12.41 in.)

Blade
mm (in.)
Dimension (A)
mm (in.)
Dimension (B)
mm (in.)
559 x 4496 (22 x 177) 237 (9.35) 359 (14.15)
610 x 5004 (24 x 197) 237 (9.35) 359 (14.15)
559 x 6502 (22 x 256) 230 (9.05) 351 (13.80)
610 x 6502 (24 x 256) 230 (9.05) 351 (13.80)

 

OUO6061,00014A4 -19-22MAR02-1/1