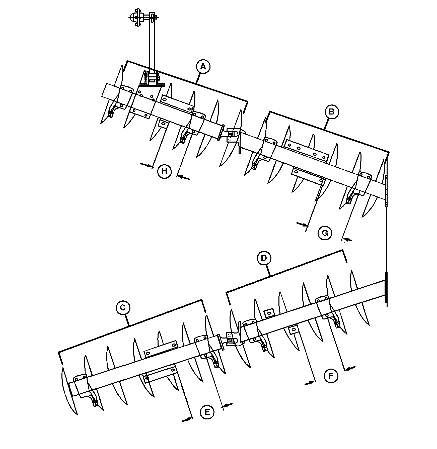
Narrow, 5.5 M (17 Ft 11 In.), 229 mm (9 In.) Spacing, C-Spring Standard, Wheatland

N59900


A-6 Blade Gang
B-6 Blade Gang


C-7 Blade Gang
D-6 Blade Gang


E-302 mm (11.90 in.)
F-288 mm (11.32 in.)


G-338 mm (13.34 in.)
H-244 mm (9.60 in.)

OUO6061,00023DA -19-20SEP06-1/1