| Recommended Service Interval |
| Check Chain Tension, Adjust As necessary |
Every 10 Hours |
IMPORTANT:
Damage to chains, sprockets and bearings can occur if chains are not adjusted to enable proper operation.
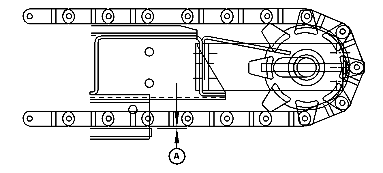
1.
With basket in lowered position, chains should just touch wood runners (A) at right side of basket (4 locations). Adjust using chain tension cap screw (B).
2.
Tighten slats attaching hardware to specification.
Specification
|
Conveyor Slats Attaching Hardware
-Torque
|
28 N·m
|
(22 lb-ft)
|
|
Right Rear Chain Tensioner Shown
|