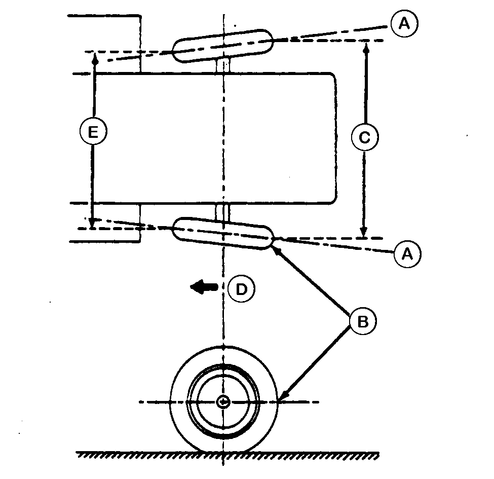
Check Guide Wheels-Toe-In

1. Mark center (A) of each tire tread at rear, in line with axle centerline (B).

2. Measure and record rear spacing (C).

3. Move machine forward (D) until marks are in front, in line with axle centerline.

4. Measure and record front spacing (E).

5. Subtract measurement (E) from (C). Verify the difference between front and rear spacing is within specification. If not, adjust toe-in. (See ADJUSTING TOE-IN in this section.)

Specification

Toe-In --Rear-Front Dimension 13 ± 9.5 mm (0.50 ± 0.38 in.)

N42189EH


A-Tire Centerline
B-Axle Centerline
C-Rear Spacing
D-Forward Travel
E-Front Spacing

RS69585,000000F -19-26OCT06-1/1