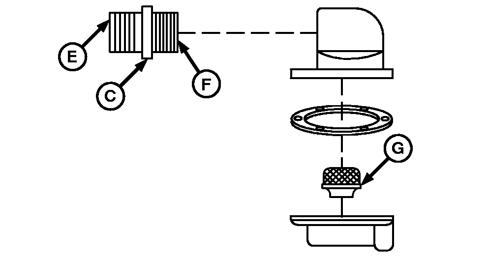
Clean Foam Mixing Head Screens-As Required

1. Loosen clamp (A), disconnect hose (B), and remove fitting (C).

2. Remove six screws (D) and separate mixing head.

3. Using hot water, wash screens (E, F, and G).

4. Inspect components and replace as necessary.

5. Re-assemble mixing head.


A-Hose Clamp
B-Hose
C-Fitting
D-Screws (Six Used)
E-Screen
F-Screen
G-Screen

N60547
N60548

OUO6043,0001514 -19-12JUL02-1/1