Check Belt Tensioner

NOTE: Pulleys and spring tensioner is serviced as an assembly.

1. With belt ON the drive, perform the following checks:

a. Check to see if tensioner arm (A) is against free arm stops (B). Replace belt if this condition is seen.

b. Check belt tracking mark on the pulley. Replace belt tensioner if tracking mark is considerably wider than belt.

2. With belt OFF the drive, perform the following checks:

a. Release tension on belt using a long-handle 1/2 in. drive tool. Remove belt from alternator pulley.

b. Release tension on tension arm (A).

c. Rotate tension arm (A) slowly using a 1/2 in. drive tool to free arm stops (B). Note any excessive "roughness"or hesitancy during cycle, replace tensioner.

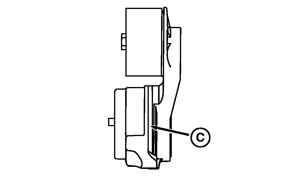
d. Inspect for metal-to-metal contact at location (C and D) on tensioner. Replace tension mechanism if metal-to-metal contact is present.


A-Tension Arm
B-Free Arm Stops
C-Metal-to-Metal Contact Between Arm and Spring Cage
D-Metal-to-Metal Contact Between Arm and End Cap

RXA0073092
RXA0073096
RXA0073094

OUO6043,00017E2 -19-16SEP04-1/2


IMPORTANT: Mounting location (A) and spacer washer (B) placement is critical for tension and alignment of belt tensioner on 6.8L engine.

3. Install belt tensioner (C) with cap screw (D) and spacer washer (B) to engine front cover at mounting holes (A) to specification.

Specification

Belt Tensioner Mounting Cap Screw -Torque 50 N·m (37 lb-ft)


A-6.8L Engine Mounting Holes
B-Spacer Washer
C-Belt Tensioner
D-Cap Screw

RXA0066564

6.8L Belt Tensioner

OUO6043,00017E2 -19-16SEP04-2/2