Adjusting Shim Gap with Wheel Off Ground (Preferred)

causym CAUTION: Solution tank can contain hazardous materials which can cause serious injury or death to you or others. Wear protective clothing, eye wear and gloves while draining tank. Drain solution in an area where people, animals, vegetation and water supplies, etc. cannot be contaminated.

1. Drain solution tank. (See Drain Solution Tank in the Wet System section.)

NOTE: If sticking occurs, remove debris from axle knees and spray with TY25733 teflon based lubricant. Activate tread adjust in and out until free.

2. Adjust axle wheel tread to 3048 mm (120 in.). (See Setting Tread Width in this section.)

OUO6092,000082D -19-28JUN05-1/5


causym CAUTION: Sprayer with boom weighs approximately 9072 kg (20,000 lb). To avoid injury or death to you or others, lift and support an empty machine only. Lift machine using an overhead hoist at proper location or using a 2268 kg (2-1/2 ton) jack and appropriate lift bracket. Do not apply jack pressure at any other location on axle. Lift only one wheel at a time. Always support machine with a suitable shop stand.

3. Lift machine using an overhead lifting device near location on end of mainframe tube (A) or a 2268 kg (2-1/2 ton) jack and appropriate lift bracket (B).

4. Position shop stand under frame and lower machine onto support as shown.


A-Location, Mainframe Tube
B-Lift Bracket

N54401
N53971

OUO6092,000082D -19-28JUN05-2/5


N49075

Left-Hand Front

N49076

Left-Hand Rear


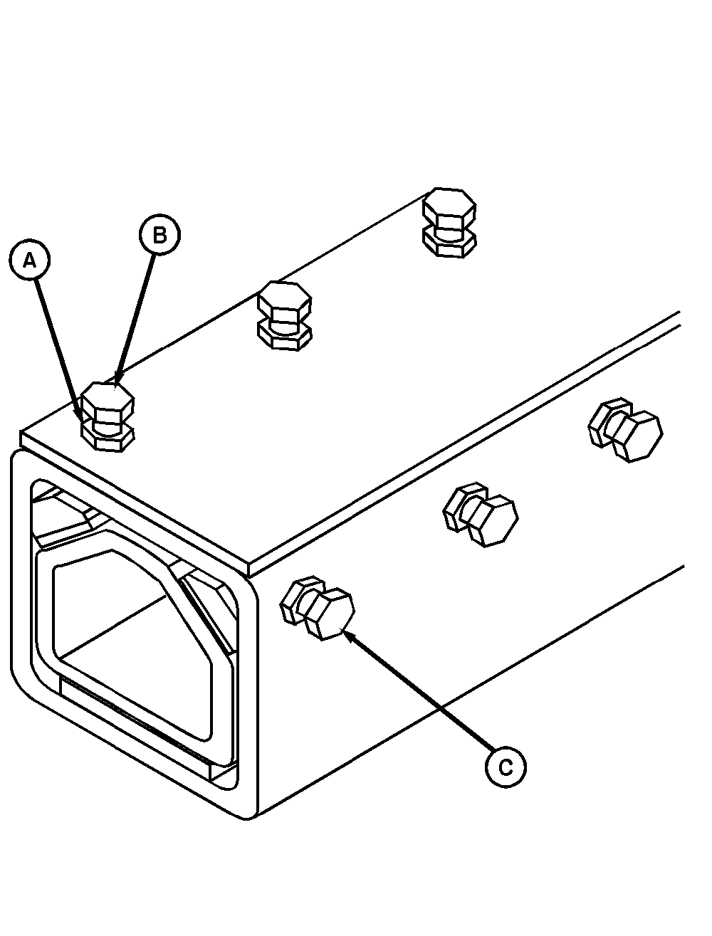
A-Jam Nuts


B-Adjusting Bolts


C-Rear Adjusting Bolts (Front Axle)


D-Rear Adjusting Bolts (Rear Axle)

5. If not already loose, loosen all jam nuts (A) on adjusting bolts.

6. Tighten top front adjusting bolts (B) 1/4 turn.

7. Tighten rear adjusting bolts (C) on front axles or adjusting bolts (D) on rear axles 1/4 turn.

NOTE: This sequence will help maintain the side gaps between mainframe tube and axle knee.

8. Repeat Steps 5 and 6 until everything is solid, then back-off each adjusting bolt 1/6 turn.

9. Tighten all jam nuts to specification.

Specification

Jam Nut -Torque 330 N·m +/-20%  (243 lb-ft) +/-20%

10. Lower machine and remove jack.

OUO6092,000082D -19-28JUN05-3/5


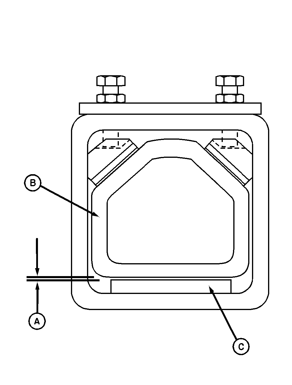
11. Check gap (A) between the lower machined surface of axle knee (B) and upper surface of lower shim pad (C). Gap should be 0.25 to 0.51 mm (0.010 to 0.020 in.) at outside end of pad.


A-Gap
B-Axle Knee
C-Lower Shim Pad

N49072

OUO6092,000082D -19-28JUN05-4/5


N49075

Left-Hand Front

N49076

Left-Hand Rear


A-Jam Nuts


B-Outer Adjusting Bolts


C-Rear Adjusting Bolts (Front Axle)


D-Rear Adjusting Bolts (Rear Axle)

NOTE: Gap should not include the chamfered area of the pad.

If gap is not within the 0.25 to 0.51 mm (0.010 to 0.020 in.) range:

Loosen jam nut (A) on outer adjusting bolts (B) and (C) or (B) and (D).

Adjust bolts (B) and (C) (front axle) or (B) and (D) (rear axle) until proper gap is obtained.

Tighten all jam nuts to specification.

Specification

Jam Nut -Torque 330 N·m +/-20% (243 lb-ft) +/-20%

12. Operate the machine and adjust the tread in-and-out to make sure no binding occurs.

OUO6092,000082D -19-28JUN05-5/5