Extending Broken Wrap Core

1. Cut a 76 mm (3 in.) long cylinder from a used wrap core.

2. Measure the perimeter distance (A) and mark cylinder (B).

3. Cut and remove section (C).

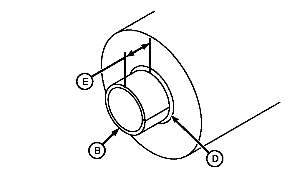
4. Compress cylinder (B) and insert into broken core (D) leaving distance (E) exposed.

5. Cut an additional 38 mm (1.50 in.) long cylinder from a used wrap core.


A-Perimeter Distance, 41 mm (1.63 in.)
B-Cylinder
C-Section
D-Broken Core
E-Distance, 38 mm (1.50 in.)

N81505
N81926

OUO1078,0000285 -19-08APR09-1/2


6. Slide cylinder (A) over cylinder (B) until both ends are flush to each other.

7. Push both (A and B) until contact is made with core.


A-Cylinder
B-Cylinder

N81510

OUO1078,0000285 -19-08APR09-2/2