Troubleshooting TOUCHSET Depth Control System

NOTE: Implement must be properly connected to tractor and tractor key "ON" for troubleshooting.

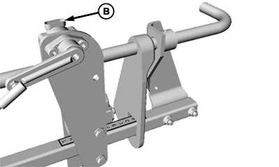
1. Check Implement Wiring Harness

Disconnect implement wiring harness (A) from potentiometer (B). Measure voltage across +5 VOLT (C) and GROUND (D) contact points on harness using a volt/ohm meter.

If voltage measures +5 volts, TOUCHSET Depth Control system is good from here forward. Go to next step and check potentiometer.

If voltage does not measure +5 volts, skip next step and continue with step after it.

2. Check Potentiometer

Disconnect potentiometer linkage. Using a volt/ohm meter, measure resistance between FEEDBACK (E) and GROUND (F) contact points on potentiometer while rotating arm through full operating range.

Resistance values should measure 500-1500 ohms with arm in full up position and gradually increase to a maximum of up to 4500 ohms in full down position.

A sudden change in resistance reading, a no-change reading, or a reading outside range indicates a bad potentiometer. If potentiometer is good continue with next step.

N59971
N80192


A-Wiring Harness
B-Potentiometer
C-Harness Contact Point, + 5 VOLT
D-Harness Contact Point, GROUND
E-Potentiometer Contact Point, FEEDBACK
F-Potentiometer Contact Point, GROUND

KB78086,00004A0 -19-24MAR08-1/2


N59972
 

A-9-Pin Connector, Back of Tractor

B-Contact Point

C-Contact Point

 

3. Check Tractor Wiring Harness

Disconnect implement harness from 9-pin connector (A) at the back of tractor.

Measure voltage across contact points (B) and (C) on 9-pin connector.

If voltage is +5 volts, implement wiring harness is bad.

If voltage is not +5 volts continue to next step.

4. Check Voltage At Tractor 3-Pin Connector

Trace wiring harness to 3-pin connector on tractor and measure voltage.

If voltage is +5 volts, tractor wiring harness is bad.

If voltage is not +5 volts continue to next step.

5. Check Tractor Hitch Fuse

Check fuse in tractor for hitch.

KB78086,00004A0 -19-24MAR08-2/2