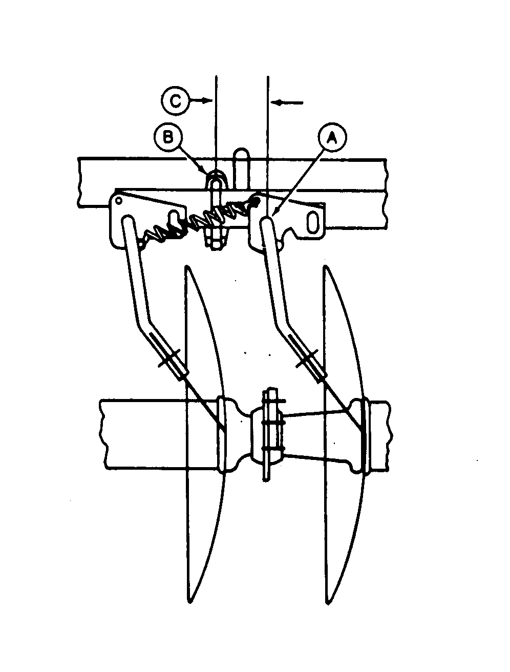
Scraper Tube Position

When installing scraper tube on standards, distance from center of scraper arm (A) to center of hook-bolt (B) on standard should measure (C):

Distance (C) is 133 mm (5-1/4 in.), plus or minus 7 mm (1/4 in.).


A-Scraper Arm
B-Hook Bolt
C-Dimension-133 mm (5-1/4 in.) ± 7 mm (1/4 in.)

N41022AA

NXN,635,P39 -19-30JUN93-1/1