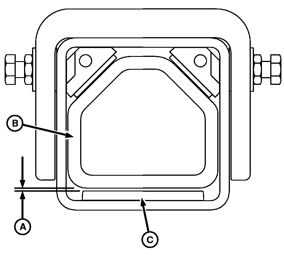
Check Shim Gap on Axle Tread Adjust—After First 100 Hours N83532-UN-12MAR09
A - Gap B - Axle Knee C - Lower Shim Pad
Measure gap (A) between lower machined surface of axle knee (B) and upper surface of lower shim pad (C). If gap exceeds 1.5 mm (0.060 in.) at outside end of pad, adjust shim gap. (See Adjust Shim Gap Procedures in Chassis section of Operators Manual.) | OUO6092,0000183-19-20090706 |
|