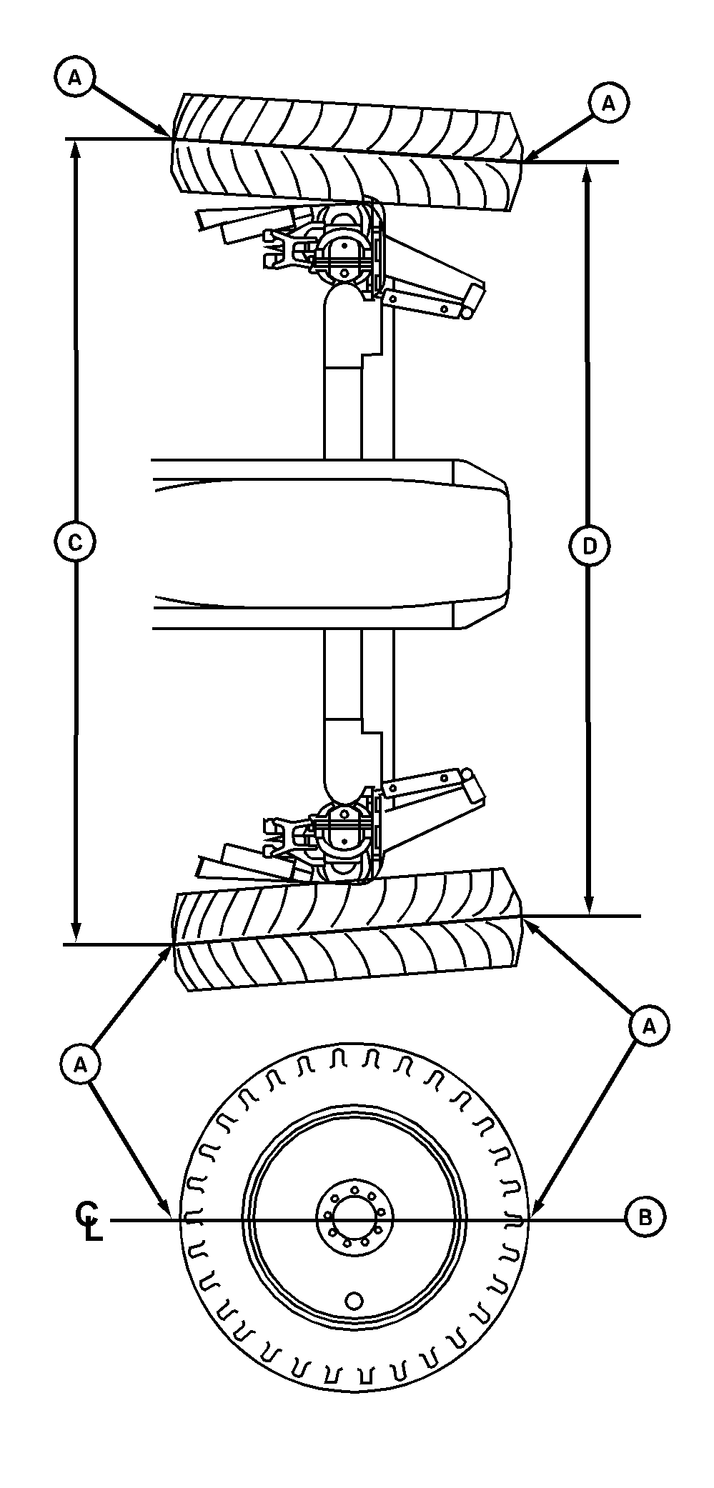
Checking Front Axle Toe-In

NOTE: Remove front wheel shields, if equipped.

1. Position wheels for straight ahead travel.

AG,OUO1011,791 -19-16JUL99-1/2


2. Mark center (A) of each tire at front and rear, on centerline (B).

3. Measure from mark-to-mark on rear of each tire. Record measurement for rear spacing dimension (C).

4. Measure from mark-to-mark on front of each tire. Record measurement for front spacing dimension (D).

5. Subtract front spacing from rear spacing to obtain toe-in dimension. Dimension (D) should be 10-25 mm (3/8-1.00 in.) less than dimension (C).

If dimensions are not within specified range, see ADJUSTING FRONT AXLE TOE-IN in this section.


A-Center of Tire
B-Centerline
C-Dimension, Rear Spacing
D-Dimension, Front Spacing

N42173UX

AG,OUO1011,791 -19-16JUL99-2/2