Adjusting Front Axle Toe-In

1. Remove cotter pin (A).

2. Remove castle nut (B).

3. Loosen jam nut (C).

4. Lightly tap on end of steering casting while prying up on steering cylinder end (D) to loosen it from tapered bore.

5. Repeat steps for opposite side of machine.

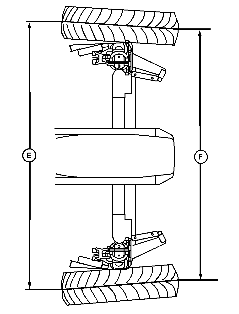
6. Move left and right tires evenly until difference between dimension (E) and dimension (F) are within specified range.

NOTE: Dimension (F) should be 10 to 25 mm (3/8 to 1 in.) less than dimension (E).

7. Screw ball joint in or out of cylinder until ball joint pin aligns with tapered bore.

8. Insert ball joint pin in tapered bore.

9. Install castle nut and tighten to specification.

Specification

Castle Nut -Torque 135 N·m (minimum) (100 lb-ft) (minimum)
Install cotter pins.

10. Tighten jam nut to specification.

Specification

Jam Nut -Torque 346 N·m (255 lb-ft)

11. Repeat necessary steps on opposite side of machine.


A-Cotter Pin
B-Castle Nut
C-Jam Nut
D-Ball Joint
E-Dimension
F-Dimension

N42175ET
N42175EU

AG,OUO1011,792 -19-16JUL99-1/1