Adjusting Shim Gap with Wheel on Ground

causym CAUTION: Solution tank can contain hazardous materials which can cause serious injury or death to you or others. Wear protective clothing, eye wear and gloves while draining tank. Drain solution in an area where people, animals, vegetation and water supplies, etc. cannot be contaminated.

1. Drain solution tank. (See Cleaning Suction Strainer/Drain Solution Tank.)

2. Adjust axle wheel tread to 3048 mm (120 in.). (See ADJUSTING WHEEL TREAD-INDIVIDUALLY, in this section.)

AG,OUO1011,811 -19-20JUL99-1/3


N49075

Left-Hand Front

N49076

Left-Hand Rear


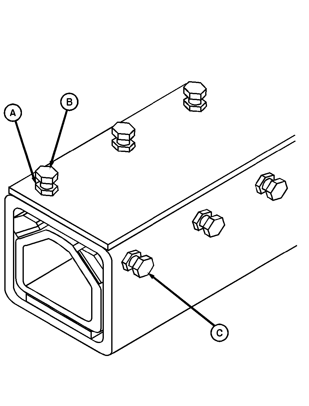
A-Jam Nuts


B-Front Adjusting Bolts


C-Rear Adjusting Bolts (Front Axle)


D-Rear Adjusting Bolts (Rear Axle)

3. If not already loose, loosen jam nuts (A) on outside adjusting bolts (B) and (C) or (B) and (D).

4. Tighten front adjusting bolts (B) 1/4 turn.

5. Tighten adjusting bolts (C) on front axles or adjusting bolts (D) on rear axles 1/4 turn.

NOTE: This sequence will help maintain the side gaps between mainframe tube and axle knee.

AG,OUO1011,811 -19-20JUL99-2/3


6. Repeat Steps 4 and 5 until gap (A) between the lower machined surface of axle knee (B) and upper surface of lower shim pad (C) is to specification at outside end of pad.

Specification

Axle Knee and Lower Shim Pad -Gap 0.25 to 0.51 mm (0.010 to 0.020 in.)

NOTE: Gap should not include the chamfered area of the pad.

7. Finger tighten remaining adjusting bolts.

8. Tighten jam nuts.

9. Operate the machine and adjust the tread in-and-out to make sure no binding occurs.


A-Gap
B-Axle Knee
C-Shim Pad

N49072

AG,OUO1011,811 -19-20JUL99-3/3