Adjusting Shim Gap with Wheel on Ground

causym CAUTION: Solution tank can contain hazardous materials which can cause serious injury or death to you or others. Wear protective clothing, eye wear and gloves while draining tank. Drain solution in an area where people, animals, vegetation and water supplies, etc. cannot be contaminated.

1. Drain solution tank. (See Drain Solution Tank in Wet System section.)

NOTE: If sticking occurs, remove debris from axle knees and spray with TY25733 teflon based lubricant. Activate tread adjust in and out until free.

2. Adjust axle wheel tread to 3048 mm (120 in.). (See Setting Tread Width in this section.)

OUO6092,000082E -19-28JUN05-1/3


N49075

Left-Hand Front

N49076

Left-Hand Rear


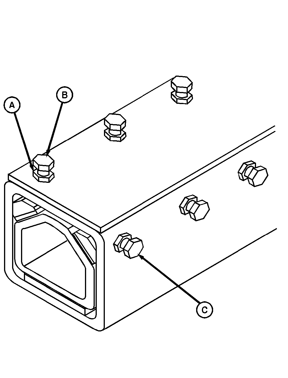
A-Jam Nuts


B-Front Adjusting Bolts


C-Rear Adjusting Bolts (Front Axle)


D-Rear Adjusting Bolts (Rear Axle)

3. If not already loose, loosen jam nuts (A) on outside adjusting bolts (B) and (C) (front axle) or (B) and (D) (rear axle).

4. Tighten front adjusting bolts (B) 1/4 turn.

5. Tighten adjusting bolts (C) on front axles or adjusting bolts (D) on rear axles 1/4 turn.

NOTE: This sequence will help maintain the side gaps between mainframe tube and axle knee.

OUO6092,000082E -19-28JUN05-2/3


6. Repeat Steps 4 and 5 until gap (A) between the lower machined surface of axle knee (B) and upper surface of lower shim pad (C) is to specification at outside end of pad.

Specification

Axle Knee and Lower Shim Pad -Gap 0.25 to 0.51 mm (0.010 to 0.020 in.)

NOTE: Gap should not include the chamfered area of the pad.

7. Finger tighten remaining adjusting bolts.

8. Tighten all jam nuts to specification.

Specification

Jam Nut -Torque 330 N·m +/-20% (243 lb-ft) +/-20%

9. Operate the machine and adjust the tread in-and-out to make sure no binding occurs.


A-Gap
B-Axle Knee
C-Lower Shim Pad

N49072

OUO6092,000082E -19-28JUN05-3/3