Check Shim Gap on Axle Tread Adjust-250 Hours

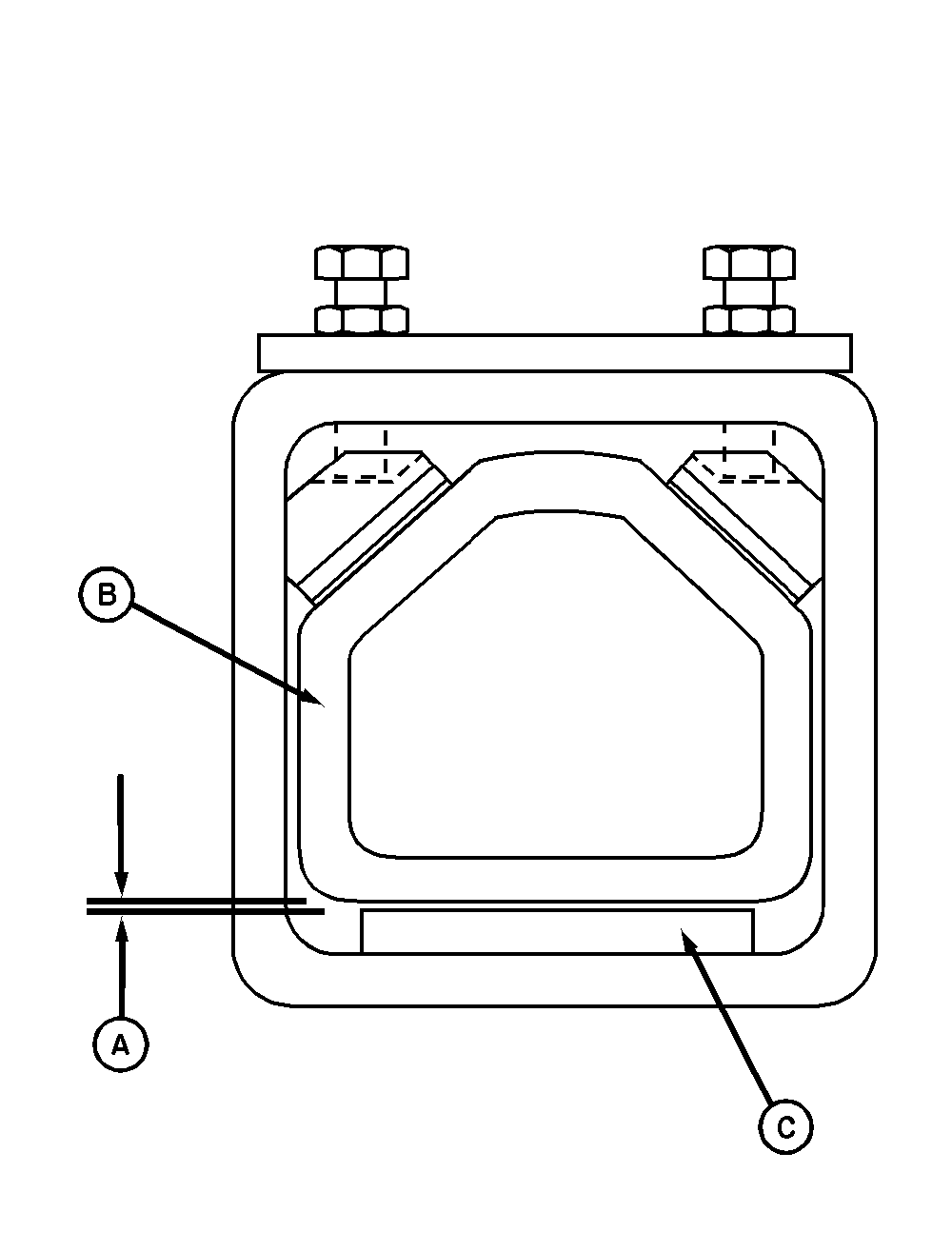
Measure gap (A) between lower machined surface of axle knee (B) and upper surface of lower shim pad (C). If gap exceeds 1.5 mm (0.060 in.) at outside end of pad, adjust shim gap. (See Adjusting Shim Gap On Axle Tread Adjust in Chassis section.)


A-Gap
B-Axle Knee
C-Lower Shim Pad

N49072

OUO6092,000085D -19-15JUL05-1/1