Transport Lock-Up Valve
CAUTION:

N88963-UN-21JUL10
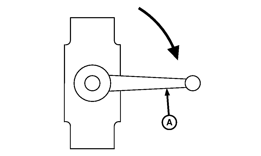
Transport Lock-Up Valve Closed Position
A - Handle
Failure to fully close transport lock-up valve can cause
an unexpected lowering of machine which can cause serious injury or
death to you or others.
For transport, raise machine and CLOSE transport lock-up valve by turning handle (A) so it is NOT IN-LINE with valve as shown.
|
|
OUO6061,0002D05-19-20100721
|
|