Preparing to Spray N83268-UN-23FEB09
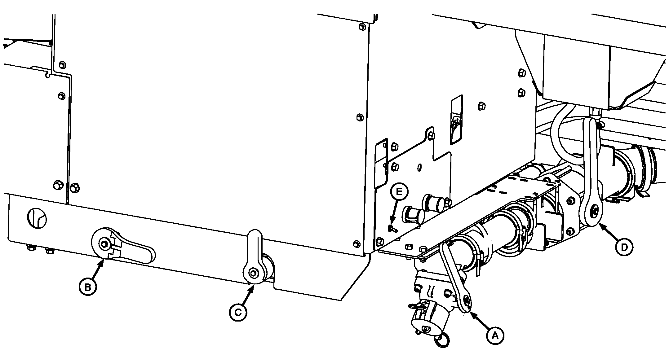
A - Quik-Fill Valve B - Suction Valve C - Pressure Valve D - Bypass Valve E - Remote Solution Pump Switch
Verify Quik-Fill valve (A) is closed. Turn suction valve (B) to “SOLUTION TANK” position. Turn pressure valve (C) to “SPRAY” position. Turn bypass valve (D) to “NORMAL” position. Verify remote pump switch (E) is in “SPRAY” position.  N73111-UN-14AUG06
A - Strainer Shut-Off Valve Verify strainer shut-off valve (A) is open.
 N80095-UN-04MAR08
 N80097-UN-04MAR08
A - Solution Pump Switch B - Boom Switches Push solution pump switch (A) forward to engage solution pump.
Verify boom switches (B) are in upward position.
| OUO6041,0000126-19-20090223 |
|