Drain solution tank. (See Drain Solution Tank in the Wet System section.)
NOTE: If sticking occurs, remove debris from axle knees and spray with TY25733 teflon based lubricant. Activate tread adjust in and out until free.
Adjust axle wheel tread to 3048 mm (120 in.). (See Setting Tread Width in this section.)
CAUTION: Sprayer with boom weighs approximately 11,476 kg (25,300 lb.). To avoid injury or death to you or others, lift and support an empty machine only. Only jack wheels using supplied lift bracket, 6,804 kg (7-1/2 ton) jack and support machine using John Deere JDG 10393 shop stand or equivalent. Do not apply jack pressure at any other location on axle. Lift only one wheel at a time.
Before jacking a front wheel, turn it fully outward.

N76728-UN-14JUN07

N53971-UN-13JUN00
A - Location, Mainframe Tube
B - Jack Bracket
Lift machine using an overhead lifting device near location on end of mainframe tube (A) or a 4,082 kg (4.5 ton) jack and appropriate jack bracket (B).
Position 6,804 kg (15,000 lb) capacity shop stand under frame and lower machine onto support as shown.

N49075-UN-04FEB97
Left-Hand Front

N49076-UN-04FEB97
Left-Hand Rear
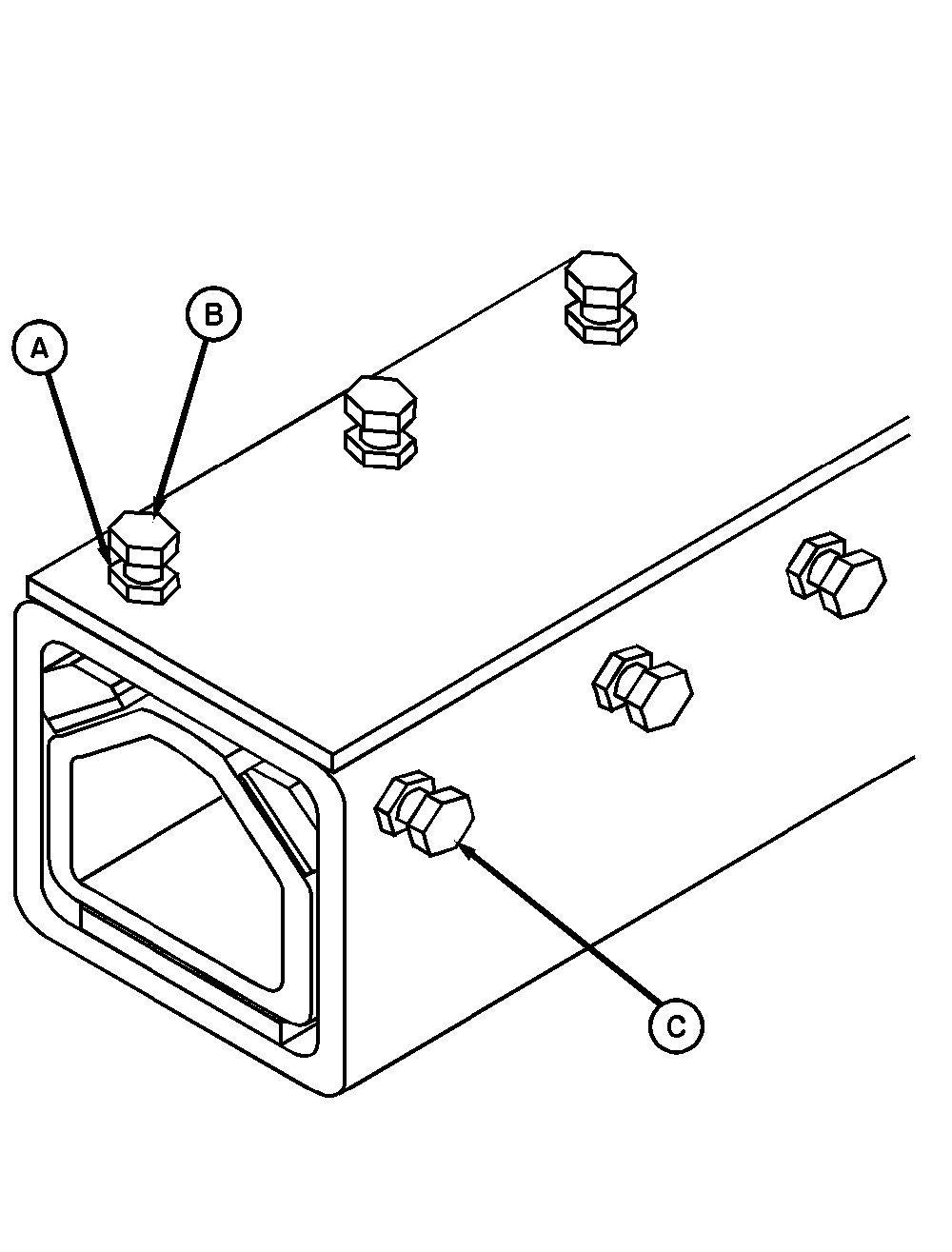
A - Jam Nuts
B - Adjusting Bolts
C - Rear Adjusting Bolts (Front Axle)
D - Rear Adjusting Bolts (Rear Axle)
If not already loose, loosen all jam nuts (A) on adjusting bolts.
Tighten top front adjusting bolts (B) 1/4 turn.
Tighten rear adjusting bolts (C) on front axles or adjusting bolts (D) on rear axles 1/4 turn.
NOTE: This sequence will help maintain the side gaps between mainframe tube and axle knee.
Repeat Steps 5 and 6 until everything is solid, then back-off each adjusting bolt 1/6 turn.
Tighten all jam nuts to specification.
| Item | Measurement | Specification |
| Jam Nut | Torque | 330 N˙m +/-20% (243 lb-ft) +/-20% |
Lower machine and remove jack.
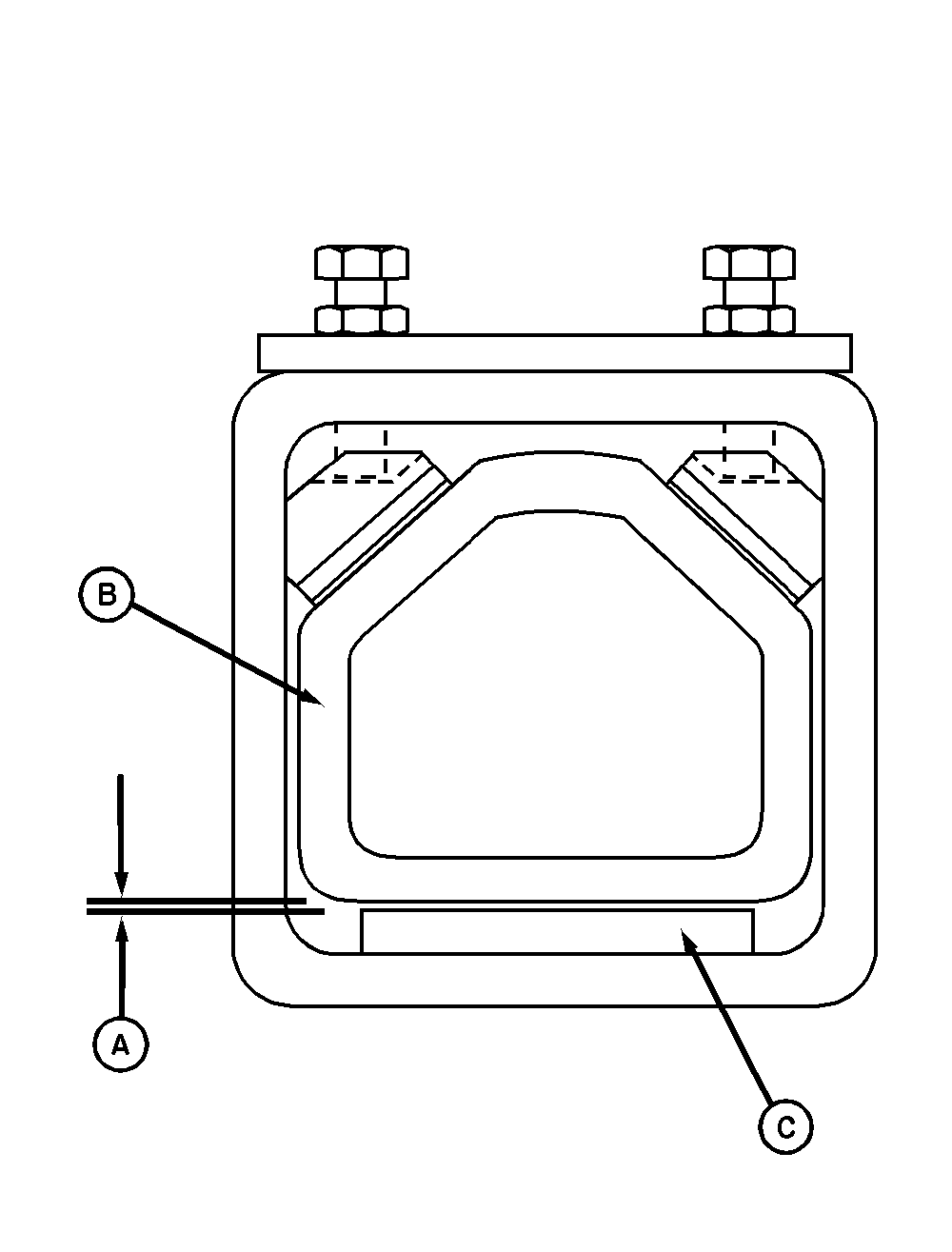
NOTE: Gap should not include the chamfered area of the pad.

N49072-UN-04FEB97
A - Gap
B - Axle Knee
C - Lower Shim Pad
Check gap (A) between the lower machined surface of axle knee (B) and upper surface of lower shim pad (C). Gap should be 0.25 to 0.51 mm (0.010 to 0.020 in.) at outside end of pad.

N49075-UN-04FEB97
Left-Hand Front

N49076-UN-04FEB97
Left-Hand Rear
A - Jam Nuts
B - Outer Adjusting Bolts
C - Rear Adjusting Bolts (Front Axle)
D - Rear Adjusting Bolts (Rear Axle)
If gap is not within the 0.25 to 0.51 mm (0.010 to 0.020 in.) range:Loosen jam nut (A) on outer adjusting bolts (B) and (C) or (B) and (D).
Adjust bolts (B) and (C) (front axle) or (B) and (D) (rear axle) until proper gap is obtained.
Tighten all jam nuts to specification.
| Item | Measurement | Specification |
| Jam Nut | Torque | 330 N˙m +/-20% (243 lb-ft) +/-20% |
Operate the machine and adjust the tread in-and-out to make sure no binding occurs.