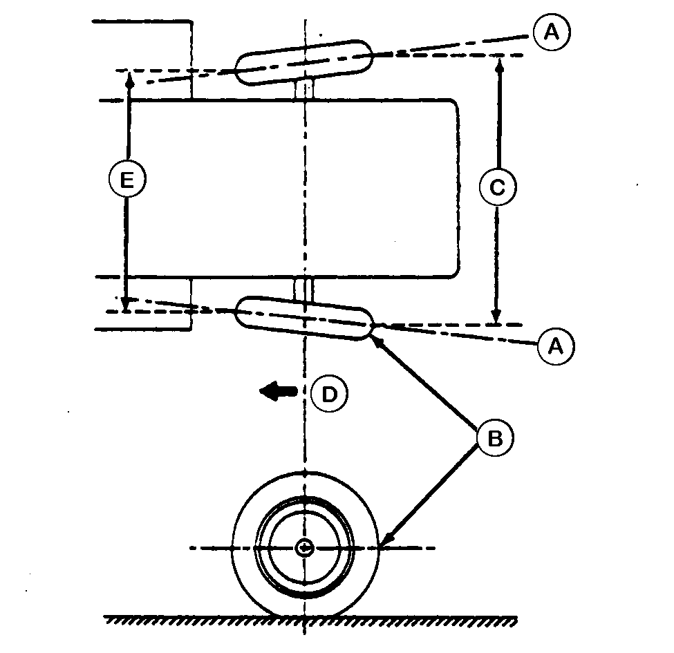
Checking Guide Wheel Toe-In

N42189EH-UN-02JUN98
A - Tire Centerline
B - Axle Centerline
C - Rear Spacing
D - Forward Travel
E - Front Spacing
-
Mark center (A) of each tire tread at rear, in line with axle
centerline (B).
-
Measure and record rear spacing (C).
-
Move machine forward (D) until marks are in front, in line with
axle centerline.
-
Measure and record front spacing (E).
-
Subtract measurement (E) from (C). Verify that the difference
between front and rear spacing is within specification. If not, adjust
toe-in. (See ADJUSTING GUIDE WHEEL TOE-IN in this section.)
| Item | Measurement | Specification |
|
Toe-In | —Rear—Front Dimension | 4 ± 4 mm (0.16 ± 0.16 in.) |
|
|
DP99999,0000425-19-20100506
|
|