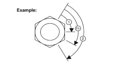
Hex Flats Recommended Rotation
Size
37° - Flanged Tube
37° - Machined Fitting Seat
Washer and Nut
Fittings and Hoses
-4
2 1/4-2 3/4
1 1/2-1 3/4
-6
2 1/4-2 3/4
1-1 1/2
-8
2 1/4-2 3/4
1 1/4-1 3/4
-12
2-2 1/2
1-1 1/2
-16
2 1/4-2 3/4
3/4-1
-20
1 1/4-1 3/4
1/2-3/4
AG,T803584,248 -19-14JUN00-1/1