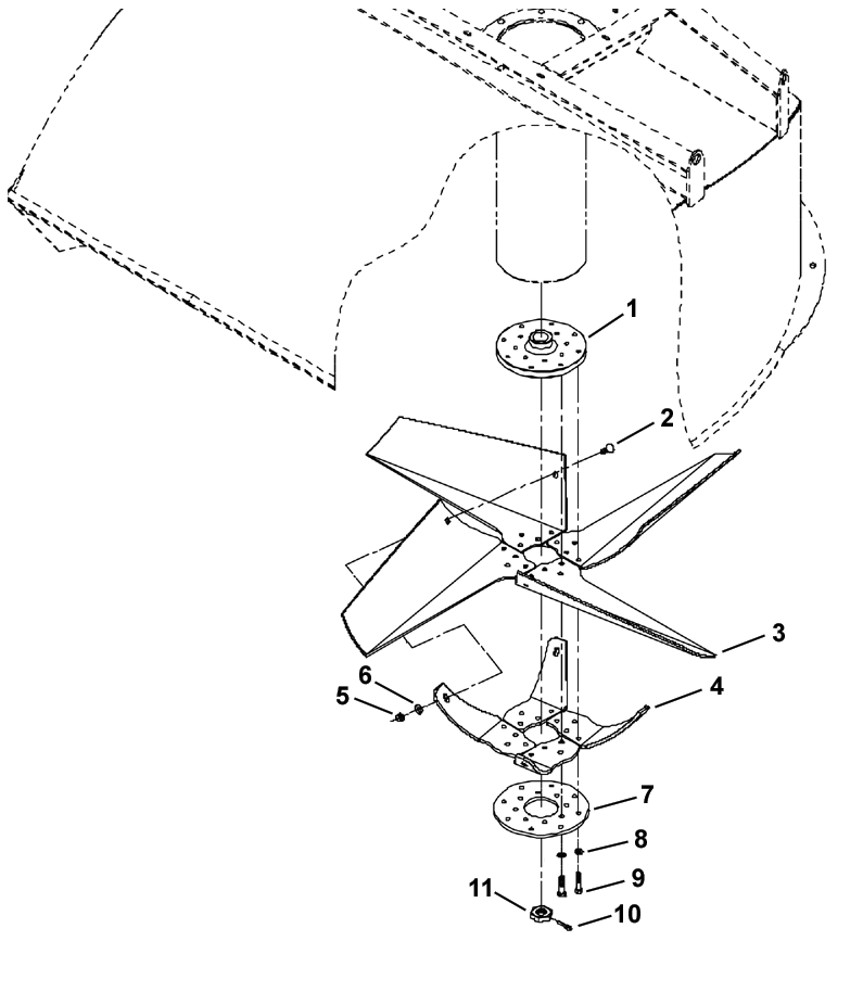
1-Fan Hub Plate 2-Bolt 3-Fan Blade
4-Double Reinforcement 5-Lock Nut 6-Flat Washer
7-Fan Base Plate 8-Washer 9-Bolt
10-Cotter Pin 11-Nut
OU64006,00001B5 -19-19MAY06-1/1