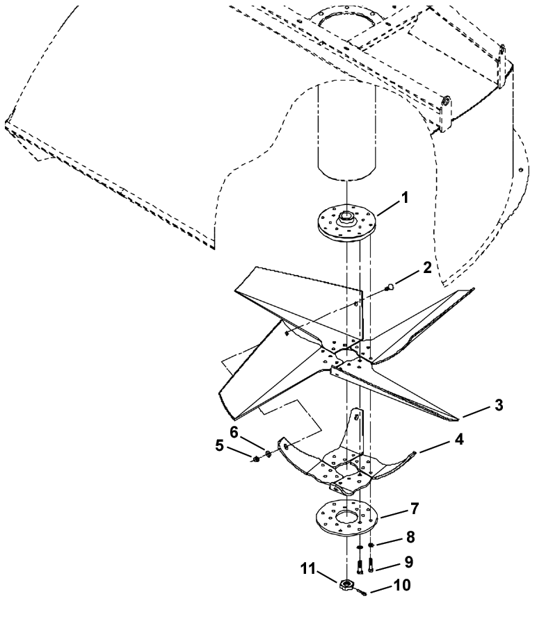
5 Ft. Primary Extractor

NW270080


1-Fan Hub Plate
2-Bolt
3-Fan Blade


4-Double Reinforcement
5-Lock Nut
6-Flat Washer


7-Fan Base Plate
8-Washer
9-Bolt


10-Cotter Pin
11-Nut

OU64006,00001B5 -19-19MAY06-1/1