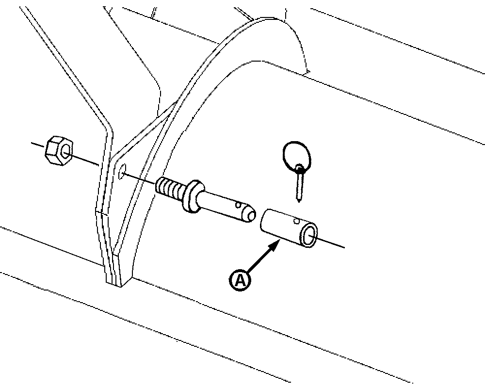
Lateral Hitch Pins

Category I: Remove bushing (A) from lateral pins.

Category II: Install bushing (A) in lateral pins.

P11322

PX07220,000000E -19-25APR02-1/1