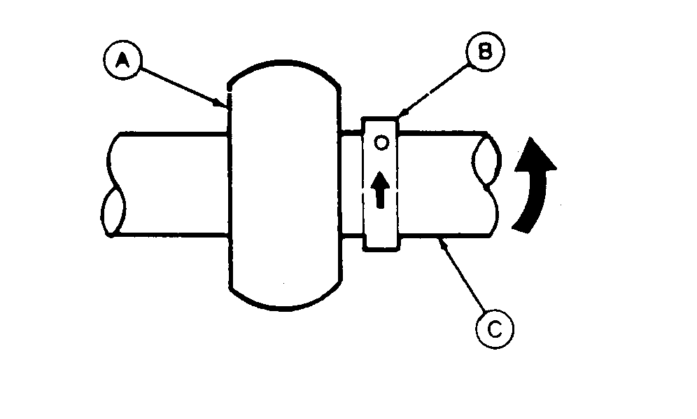
Bearing Locking Collars

P5176
P5176-UN-17FEB93


Tighten all locking collars on running shafts in the direction of shaft rotation.

PX07220,00010F3-19-20090526