Ajuste de las Salpicaderas en Tractores con Tracción Delantera

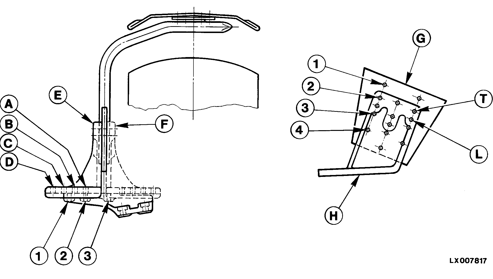
LX007817

Rueda delantera derecha


E-Soporte hacia adentro
F-Soporte hacia afuera
G-Salpicadera
H-Soporte

La salpicadera debe instalarse en función de la medida del neumático y el ancho de la trocha. Seleccione los neumáticos y ancho de trocha adecuados y determine en la tabla la posición correcta (ver página siguiente).

Explicación de las posiciones:

D-3 indica los agujeros (1, 2, ó 3 y A, B, C o D) que quedan unidos por tornillos. DEN -Indica si el soporte se halla cara adentro o cara afuera. Al invertir la posición del soporte, es necesario instalar el soporte del lado izquierdo en el lado derecho o viceversa. 1/2 -Indica si se utilizan los agujeros superiores (T) o inferiores (L) del soporte y los agujeros correspondientes (1, 2, 3 ó 4) de las salpicaderas. Anchura de salpicaderas -Esta línea indica la posición de la salpicadera en el eje de la tracción delantera, p.e. D-3 DEN. Altura de salpicaderas -Esta línea indica la altura de la salpicadera, p.e. 1/2. Paso de salpicaderas -Indica el paso aproximado de las salpicaderas, p.e. 400 mm (15.7 plg.) para los rodados utilizados.

La próxima página incluye una tabla con las posiciones de las salpicaderas.

LX008632

AG,PX03972,138 -63-14OCT99-1/2


Para la tabla de los anchos de trocha, consultar las tablas correspondientes (posición de neumáticos y discos de rueda).

AG,PX03972,138 -63-14OCT99-2/2