Rear Wheel, Tire and Tread Guidelines

Wheels are reversed on axles to provide a wider range of settings by changing rim position. Maintain correct direction of tire rotation by moving each wheel to opposite side of tractor.

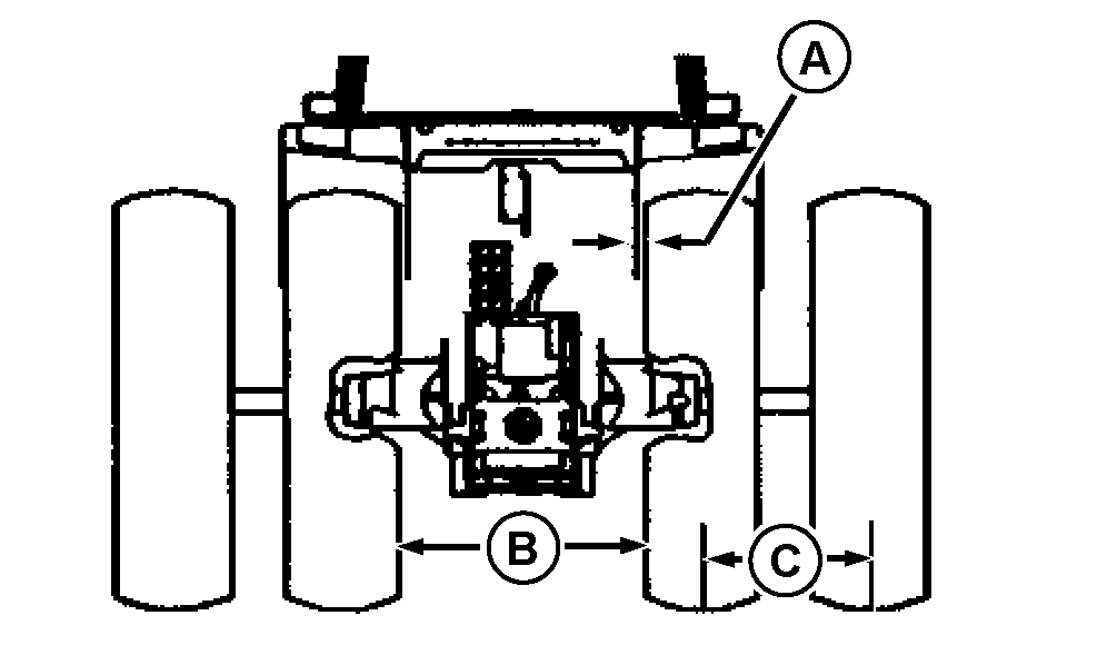
IMPORTANT: Tires must have at least 25 mm (1 in.) clearance (A) with fenders . Distance (B) between tire inside walls must be at least 1015 mm (40 in.).

With sway blocks in upper position (sway allowed), minimum distance between tires must be 1090 mm (43 in.) to prevent interference.

Observe minimum spacing (C) between dual tires.

Check for adequate clearance between implement and rear tires.

Do not mix radial and bias-ply tires on same axle.

Drive tires and dual tires mounted on the same axle should all be inflated to the same pressure.

Cast wheels are used inside and steel wheels on the outside when installing duals.

Overinflating radial tires reduces machine performance. Using correct inflation pressures results in optimum traction performance.

RW21260
RW19899A


A-Clearance Between Inner Wheel and Fender
B-Distance Between Inside Wall of Drive Wheels
C-Minimum Spacing Between Duals

PX07220,0000006 -19-01OCT02-1/2


causym CAUTION: Prevent personal injury and tractors instability. Never operate with single tires having tread width less than 1520 mm (60 in.).

IMPORTANT: Do not exceed 2800 mm (110 in.) between single tires when pulling heavy loads.

Minimum Spacing, Measured Between Tire Centers
Tire Section Minimum Spacing
320 mm (12.4 in.) 414 mm (16.3 in.)
380 mm (14.9 in.) 482 mm (19.0 in.)
420 mm (16.9 in.) 536 mm (21.1 in.)
480 mm (18.4 in.) 590 mm (23.2 in.)
520 mm (20.8 in.) 645 mm (25.4 in.)
650 mm (25.5 in.) 773 mm (30.4 in.)

 

PX07220,0000006 -19-01OCT02-2/2