Ajuste de la Varilla de la TDF

Intervalo de Servicio - Cada 50 horas (en caso de uso continuo)

 

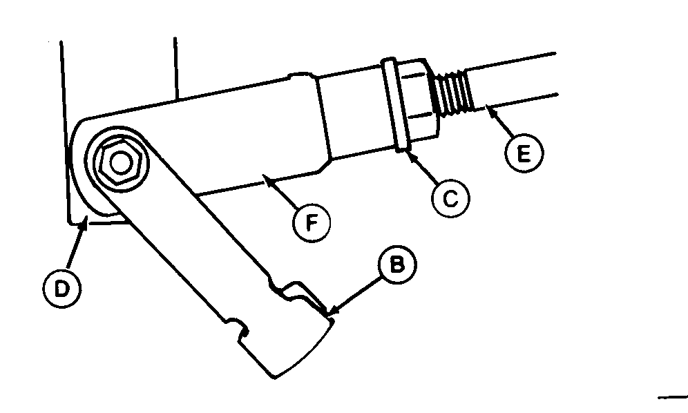
1. Mover la palanca de TDF (A) hacia la posición trasera (TDF desengranada).

2. Remover el perno sujetador (B) del extremo delantero de la varilla de la TDF.

3. Afloje la contratuerca (C) de la parte trasera de la horquilla frontal (F).

4. Ajuste la longitud de la varilla (E) de manera que el perno sujetador (B) pueda ser instalado con la varilla empujada hacia delante y el brazo empujado hacia atrás para eliminar el juego libre. Alargue la varilla (E) dando media vuelta a la horquilla (F) para proporcionar un poco de juego libre a la palanca de la TDF.

5. Reinstale el perno sujetador (B) en la horquilla (F) y el brazo (D).

6. Revisar que los extremos de la varilla de la TDF estén enroscados equidistantemente. Puede aflojar la contratuerca que se encuentra en la parte trasera (no se muestra) y girar la varilla para igualar el enroscamiento de los extremos de la varilla (el ajuste de la TDF no es afectado).

7. Apretar las contratuercas (C) en cada extremo de la varilla.


A-Palanca de la TDF
B-Perno sujetador
C-Contratuerca
D-Brazo
E-Varilla
F-Horquilla

P13397
M46418A

PX07220,0000E33 -63-08AUG08-1/1