Ajuste de los guardabarros fijos

Los guardabarros pueden ajustarse individualmente. Es posible adoptar diversas posiciones de ajuste. La inclinación, anchura y altura de los guardabarros pueden ser ajustadas en función de la medida de neumáticos. Para el ajuste, proceda del siguiente modo:


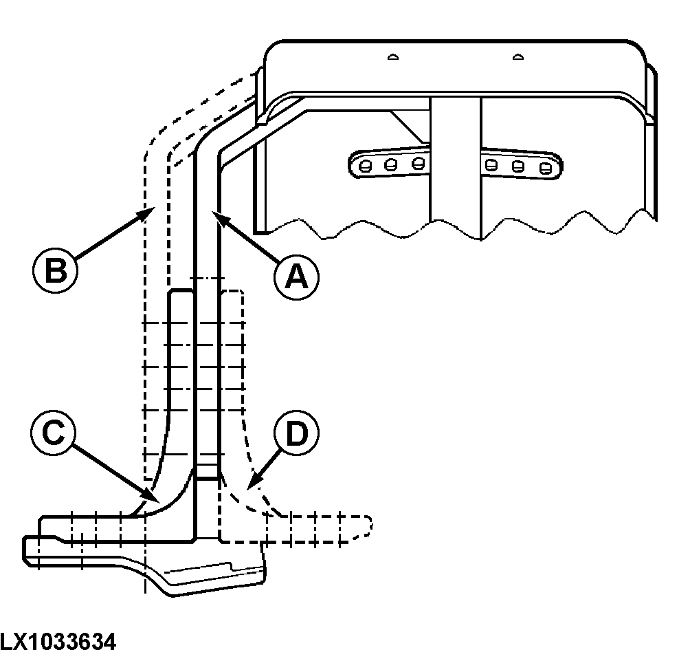
A-Apoyo a la placa base (lado de la rueda)
B-Apoyo a la placa base (lado del tractor)
C-Placa base (lado del tractor)
D-Placa base (lado de la rueda)

LX1033634

OU12401,00015BC -63-14DEC06-1/4


1. Elevar la parte delantera del tractor, de modo que el puente de tracción delantera pueda pivotar libremente.

2. Girar el volante de dirección en ambas direcciones y pivotar el eje para determinar la posición de montaje más adecuada de los guardabarros.

3. Ajustar la posición de los guardabarros de modo que se respeten las distancias mínimas, (véase ilustración). No debe haber contacto con el bastidor del tractor.

A = 40 mm (1.57 in.), B = 60 mm (2.36 in.)

LX1031619
LX1033894

OU12401,00015BC -63-14DEC06-2/4


4. Ajustar también los topes de dirección hasta asegurarse de que ni la rueda ni el guardabarros tocan el bastidor del tractor.

LX1031620

OU12401,00015BC -63-14DEC06-3/4


Apretar los tornillos con los siguientes pares de apriete:

Tornillos (A)... 140 N·m (105 lb-ft)
Tornillos (B)... 140 N·m (105 lb-ft)
Tornillos (C)... 190 N·m (140 lb-ft)

 


A-Tornillos, apoyo a placa base
B-Tornillos, placa base a base
C-Tornillos de hex. interior, base a portamanguetas

LX1033635

OU12401,00015BC -63-14DEC06-4/4