Seguridad al dar Servicio a los neumáticos

Invertir las ruedas en los ejes para proporcionar una gama más amplia de ajustes con solo cambiar la posición del aro. Mantener el sentido correcto de giro de los neumáticos desplazando cada rueda al lado opuesto del tractor.

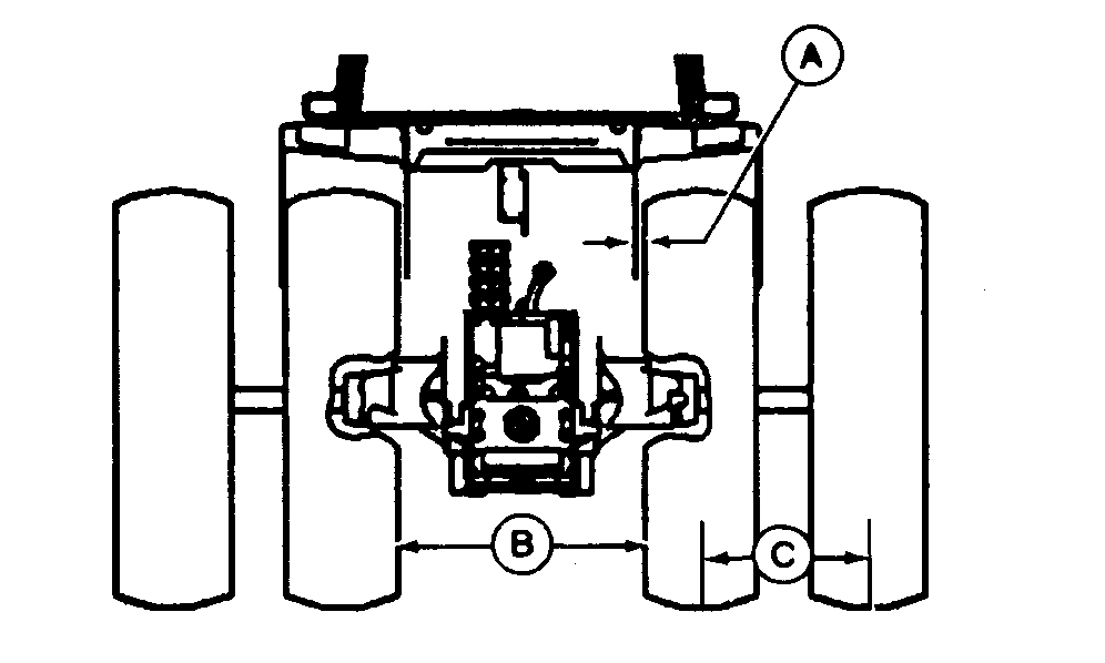
IMPORTANTE: Debe de haber un espacio libre por lo menos de 25 mm (1 plg) entre los neumáticos y las salpicaderas (A). La distancia entre neumáticos debe de ser de 1070 mm (42 plg) como mínimo con los neumáticos a distancias iguales de la línea central (B) del tractor.

Con los bloques estabilizadores en la posición superior (permitiendo la oscilación), la distancia mínima entre los neumáticos deberá ser de 1090 mm (43 plg) para evitar interferencias.

  • Revisar que haya suficiente espacio libre entre los neumáticos traseras del implemento.
  • No mezclar llantas de telas diagonales con neumáticos radiales en un mismo eje
  • Los neumáticos motrices y dobles instaladas en un mismo eje deben de inflarse a un mismo valor de presión.
  • El inflado excesivo de un neumático radial reduce el rendimiento de la máquina . Inflar los neumáticos a la presión correcta se obtendrá un rendimiento óptimo

causym ATENCION: Evitar las lesiones personales y la pérdida de la establilidad del tractor.

Nunca trabajar con neumáticos sencillas con una trocha de menos de 1520 mm(60 plg). No exceder de 2800 mm (110 plg) de distancia entre los neumáticos sencillos al tirar de cargas pesadas.

Espacio mínimo (C) para rodado doble
Neumático de 18.4 - 38 578 mm (22.7 plg)
Neumático de 320/90 416 mm (16.4 plg)

 

RW21260
RW19899

PX07220,0000051 -63-03MAR06-1/2


causym ATENCION: La separación explosiva de las partes de un aro y el neumático pueden causar heridas serias o hasta la muerte. Instale una neumáticos sólo si tiene el equipo y experiencia apropiada para hacerlo. Hágalo por medio del distribuidor John Deere o por un servicio de reparación calificado. Mantenga siempre la presión correcta en los neumáticos. No infle los neumáticos a una presión mayor que la recomendada. Cuando infle un neumático use una herramienta especial de montaje y una extensión de manguera lo suficientemente larga que le permita pararse a un lado. Nunca se pare en frente o sobre el ensamble del neumático. Use una jaula de seguridad si está disponible. No opere con baja presión, neumáticos con bolas, con cortes, aros dañados ni con faltantes de tornillos o tuercas.

TS211

PX07220,0000051 -63-03MAR06-2/2