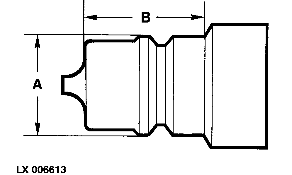
Conectores de mangueras

Los conectores deben estar dentro de la normativa ISO.

La distancia (A) debe estar comprendida entre 23,66 y 23,74 mm (0.931 y 0.934 plg.).

La distancia (B) debe ser al menos de 24 mm (0,945 plg.).

LX006613

PX07220,0000068 -63-04MAR06-1/1