Install Hitch Pin Bushings on Ballast Box for Category 1 Quick-Hitch
Install bushings on both hitch pins. Right-hand side shown.
-

W04939-UN-22JUL02
A - Bushing
B - Bushing
C - Spring Pin
Install the bushing (A) over the hitch pin with the cross
hole as shown.
-
Install the bushing (B)
as shown.
-
Align holes in bushings
with the hole in the hitch pin and install the spring pin (C).
-

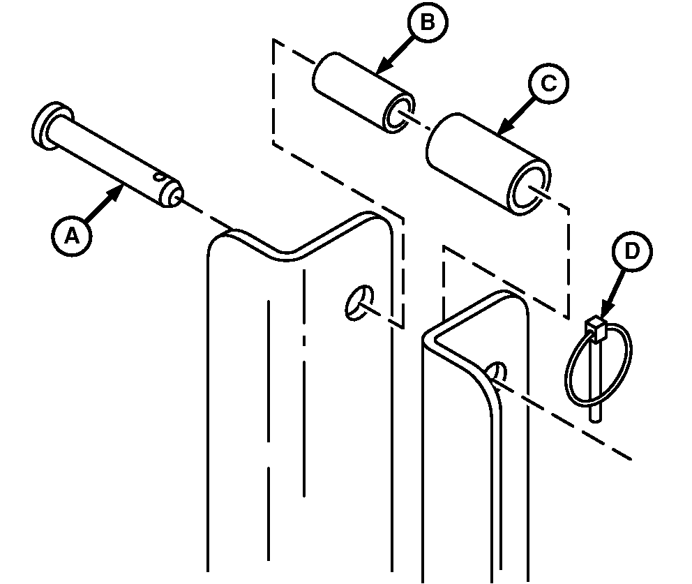
W05063-UN-05FEB02
A - Center Link Pin
B - Bushing (Small)
C - Bushing (Large)
D - Quick-Lock Pin
Assemble bushings (B and C).
-
Insert the center link
pin (A) through the ballast box mast and bushing assembly. Fasten
with the quick-lock pin (D).
|
|
OUO6038,0001573-19-20180828
|
|