H120 Loader Specifications on 1023E and 1026R Tractors

W23764
W23764-UN-14JUN13


1023E and 1026R Tractors1

Minimum Rear Ballast

Rear tires filled with liquid ballast2

273 kg (602 lb) minimum (3-point hitch ballast)

Front Tires

18 x 8.5-10

Rear Tires

26 x 12-12

Wheel Base (WB)

1450 mm (57 in)

Heavy Duty Materials Bucket

Width

1250 mm (49 in)

Length

Mass

51 kg (112 lb)

Hydraulic System

Rated Flow

13.2 L/min (2.9 gal/min)

Maximum Pressure

13 700 kPa (137 bar) (1987 psi)

Cycle Times (in seconds)

Loader Raise Time

4.0

Loader Lower Time

2.5

Bucket Dump Time

5.7

Bucket Rollback Time

3.5

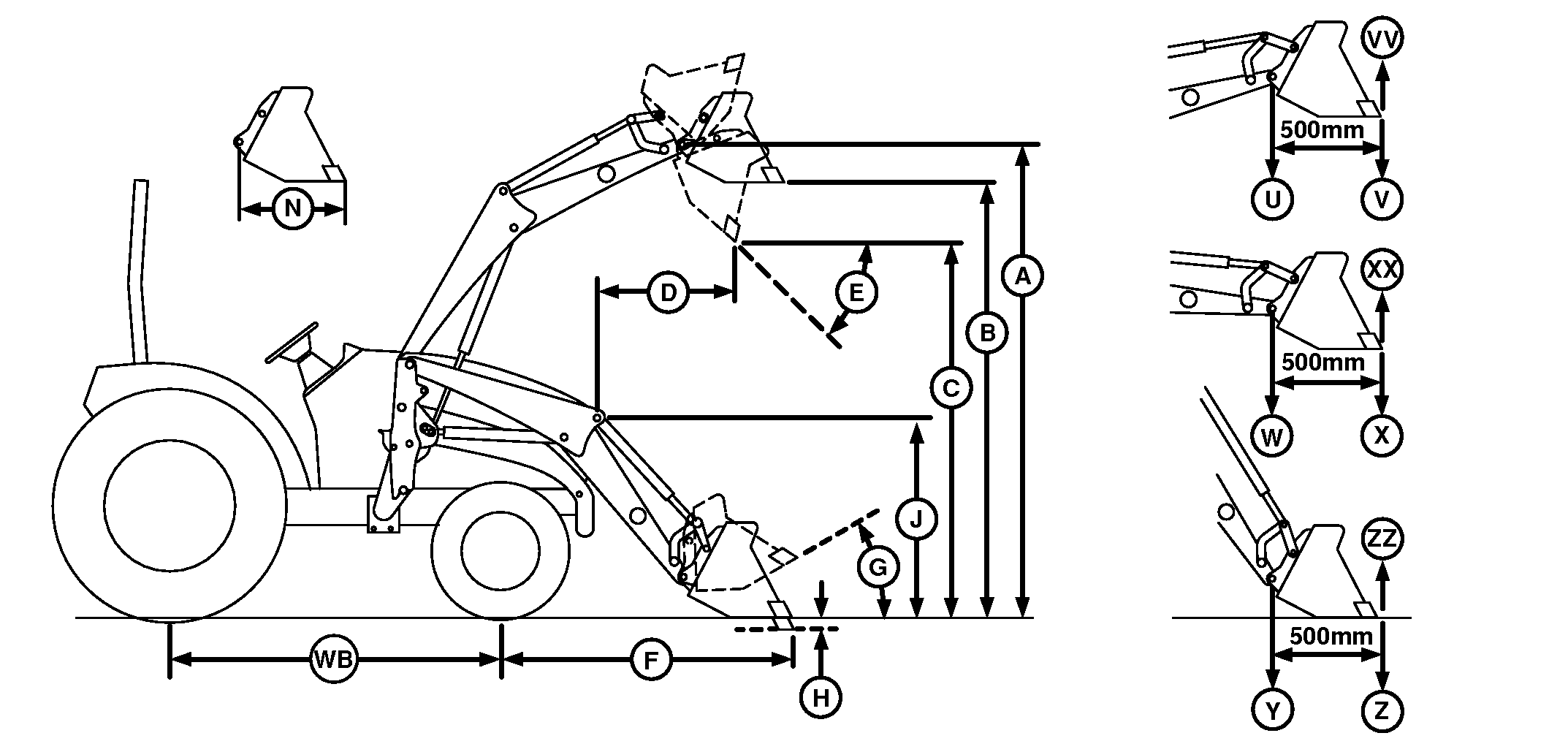
Lift Height (Maximum)

To Pivot Pin (A)

1809 mm (71 in)

Clearance

Bucket Level (B)

1653 mm (65 in)

Bucket Dumped (C)

1371 mm (54 in)

Overall Length (WB + F)

2626 mm (103 in)

Digging Depth (H)

101 mm (4 in)

Reach

At Maximum Lift Height with Bucket Dumped (D)

571 mm (22.5 in)

Bucket on Ground with Bucket Leveled (F)

1176 mm (46 in)

Angles (Maximum)

Dump (E)

40°

Dump at Ground

114°

Rollback (G)

31°

Rollback at Full Height

Overall Height

In carrying position (J)

Lift Capacity

To Maximum Height (U) at Pivot Point

319 kg (703 lb)

To Maximum Height (V)

232 kg (512 lb)

To 1500 mm (59 in) at pivot pin (W)

331 kg (730 lb)

To 1500 mm (59 in) (X)

265 kg (584 lb)

Breakout Force

At Pivot Point (Y)

782 kg-force (1724 lbf)

500 mm forward of pivot point (Z)

595 kg-force (1312 lbf)

Bucket Rollback Force

At maximum height (VV)

763 kg-force (1682 lbf)

At 1500 mm (59 in) lift height (XX)

789 kg-force (1740 lbf)

At Ground Level Line (ZZ)

867 kg-force (1912 lbf)

1 (Specifications and design subject to change without notice)
2 Fill tires 3/4 full using a calcium chloride mixture of 1.6 kg (3.5 lb) per 4 L (1 gal) of water

OUO6064,0000EC5-19-20180830