300R Loader Specifications on 3120, 3320, 3520, 3720, 3033R,
3038R, 3039R, 3045R, and 3046R Tractors

W23764-UN-14JUN13
|
3120, 3320, 3520, 3720, 3033R, 3038R, 3039R, 3045R, and 3046R
Tractors1
|
|
Minimum Rear Ballast2
|
Option 1
|
Three rear wheel weights per wheel and 350 kg (770 lb) rear
hitch ballast
|
|
Option 2
|
Fluid filled rear tires3 and 300 kg (661 lb) rear hitch ballast
|
|
Front Tires
|
7.00-14 6PR R1
|
|
Rear Tires
|
11.2-24 6PR R1
|
|
Wheel Base (WB)
|
1727 mm (68 in)
|
|
Heavy Duty Materials Bucket
|
|
Width
|
1550 mm (61 in)
|
|
Length
|
633 mm (25 in)
|
|
Mass
|
94 kg (207 lb)
|
|
Hydraulic System
|
|
Rated Flow
|
32.5 L/min (8.6 gal/min)
|
|
Maximum Pressure
|
17 237 kPa (172 bar) (2500 psi)
|
|
Cycle Times (In Seconds)
|
|
Loader Raise Time
|
2.76
|
|
Loader Lower Time
|
1.69
|
|
Bucket Dump Time
|
2.91
|
|
Bucket Rollback Time
|
1.72
|
|
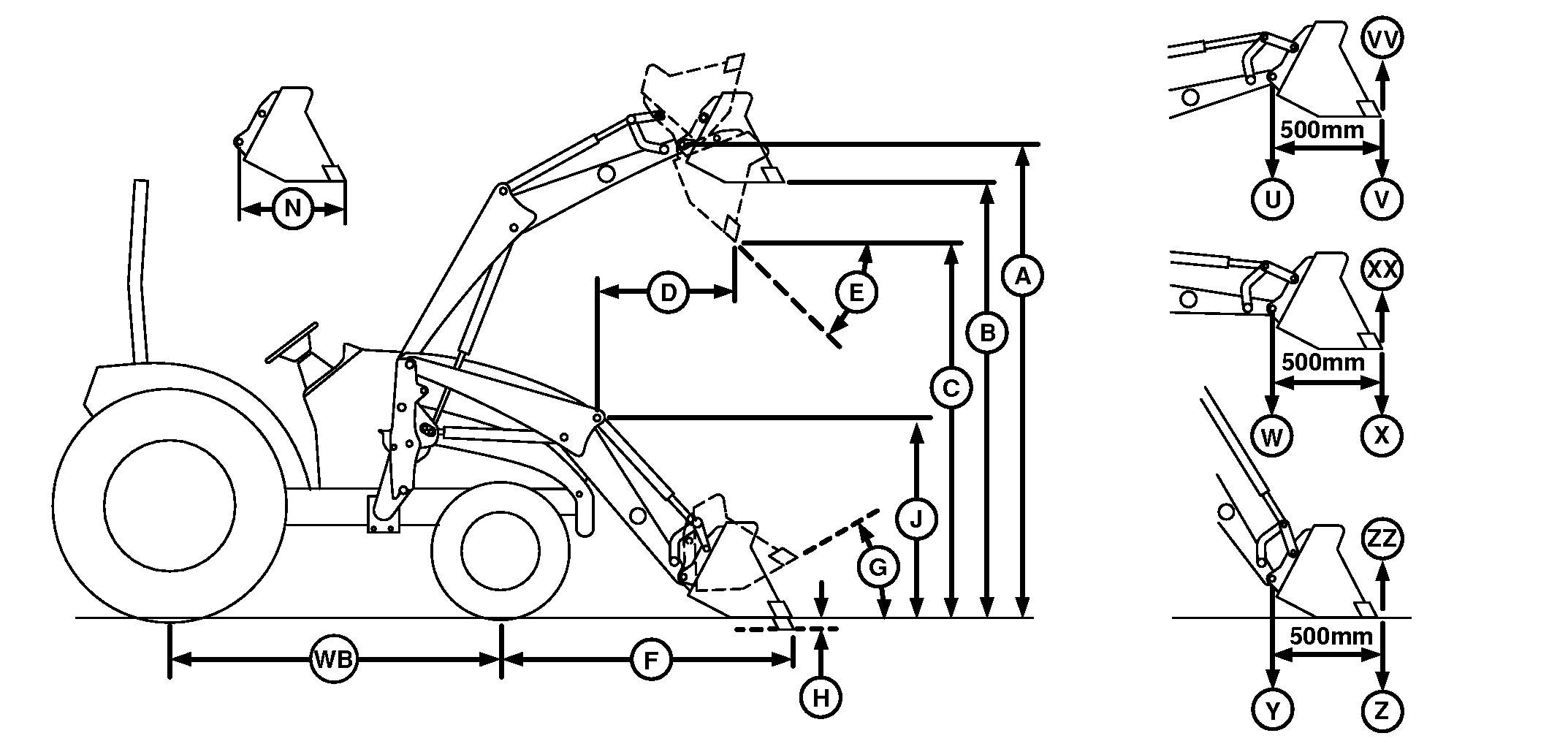
Lift Height (Maximum)
|
|
To Pivot Pin (A)
|
2284 mm (90 in)
|
|
Clearance
|
|
Bucket Level (B)
|
2123 mm (84 in)
|
|
Bucket Dumped (C)
|
1743 mm (69 in)
|
|
Overall Length (WB + F)
|
3108 mm (122 in)
|
|
Digging Depth (H)
|
76 mm (3 in)
|
|
Reach
|
|
At Maximum Lift Height with Bucket Dumped (D)
|
773 mm (30 in)
|
|
Bucket on Ground with Bucket Leveled (F)
|
1381 mm (54 in)
|
|
Angles (Maximum)
|
|
Dump (E)
|
43°
|
|
Dump at Ground
|
121°
|
|
Rollback (G)
|
25°
|
|
Rollback at Full Height
|
103°
|
|
Overall Height
In Carrying Position (J)
|
—
|
|
Lift Capacity
|
|
To Maximum Height (U) at Pivot Pin
|
617 kg (1360 lb)
|
|
To Maximum Height (V)
|
453 kg (999 lb)
|
|
To 1500 mm (59 in) at the Pivot Pin (W)
|
771 kg (1700 lb)
|
|
To 1500 mm (59 in) (X)
|
595 kg (1312 lb)
|
|
Breakout Force
|
|
At Pivot Point (Y)
|
12 700 N (2855 lbf)
|
|
500 mm Forward of the Pivot Pin (Z)
|
9040 N (2032 lbf)
|
|
Bucket Rollback Force
|
|
At Maximum Height (VV)
|
11 820 N (2657 lbf)
|
|
At 1500 mm (59 in) Lift Height (XX)
|
14 890 N (3347 lbf)
|
|
At Ground Level Line (ZZ)
|
11 650 N (2619 lbf)
|
|
1 Specifications
and design subject to change without notice.
2 Ballast given is required with minimum rear tread setting.
3 Fill tires 3/4 full
using a calcium chloride mixture of 1.6 kg (3.5 lb) per 4 L (1 gal)
of water.
|
OUO6064,0001B65-19-20180124
|
|