300E Loader Specifications on 3025D, 3025E, 3032E, 3035D, 3036E,
3038E, and 3043D Tractors

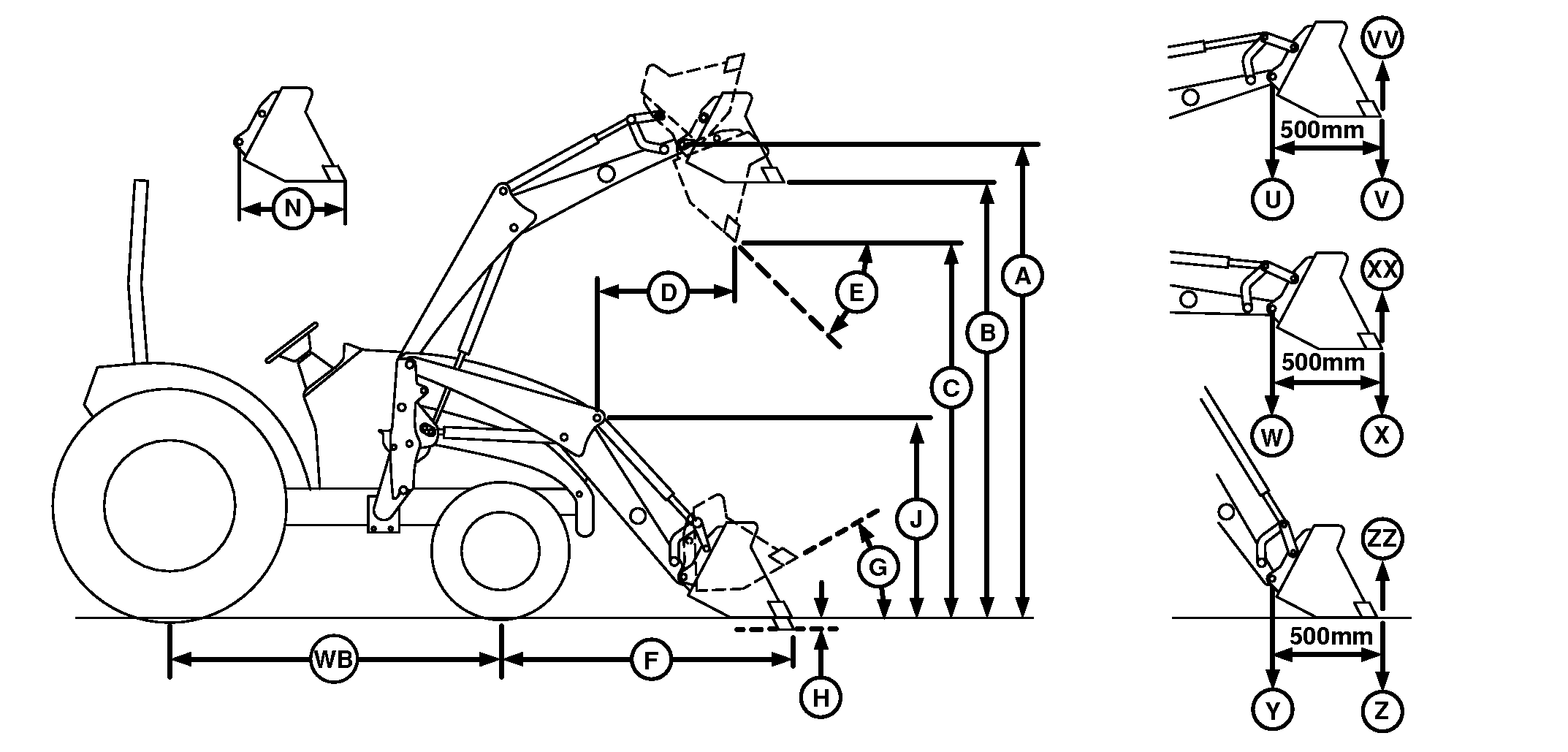
W23764-UN-14JUN13
|
3025D, 3025E, 3032E, 3035D, 3036E, 3038E, and 3043D Tractors1
|
|
Minimum Rear Ballast
|
Option 1
|
370 kg (816 lb) Rear Hitch Ballast
|
|
Option 2
|
250 kg (551 lb) Rear Hitch Ballast
Fluid Filled Rear Tires
|
|
Option 3
|
170 kg (375 lb) Rear Hitch Ballast
Fluid Filled Rear Tires
Three Rear Wheel Weights Per Side—Total 140 kg (309 lb)
|
|
Option 4
|
295 kg (650 lb) Rear Hitch Ballast
Three Rear Wheel Weights Per Side—Total 140 kg (309 lb)
|
|
Front Tires
|
25 X 8.50-14
|
|
Rear Tires
|
15.00-19.5
|
|
Wheel Base (WB)
|
1525 mm (60 in)
|
|
General Purpose Materials Bucket
|
|
Width
|
1550 mm (61 in)
|
|
Length
|
—
|
|
Mass
|
93 kg (205 lb)
|
|
Hydraulic System
|
|
Rated Flow
|
20 L/min (5 gal/min)
|
|
Maximum Pressure
|
17 202 kPa (172 bar) (2495 psi)
|
|
Cycle Times (in seconds)
|
|
Loader Raise Time
|
3.31
|
|
Loader Lower Time
|
2.75
|
|
Bucket Dump Time
|
1.75
|
|
Bucket Rollback Time
|
1.88
|
|
Lift Height (Maximum)
|
|
To Pivot Pin (A)
|
2140 mm (84 in)
|
|
Clearance
|
|
Bucket Level (B)
|
1979 mm (78 in)
|
|
Bucket Dumped (C)
|
1596 mm (63 in)
|
|
Overall Length (WB + F)
|
2893 mm (114 in)
|
|
Digging Depth (H)
|
131 mm (5 in)
|
|
Reach
|
|
At Maximum Lift Height with Bucket Dumped (D)
|
603 mm (24 in)
|
|
Bucket on Ground with Bucket Leveled (F)
|
1369 mm (54 in)
|
|
Angles (Maximum)
|
|
Dump (E)
|
44°
|
|
Dump at Ground
|
122°
|
|
Rollback (G)
|
31°
|
|
Rollback at Full Height
|
—
|
|
Overall Height
In Carrying Position (J)
|
161 mm (6 in)
|
|
Lift Capacity
|
|
To Maximum Height (U) at Pivot Point
|
539 kg (1186 lb)
|
|
To Maximum Height (V)
|
384 kg (845 lb)
|
|
To 1500 mm (59 in) at the Pivot pin (W)
|
588 kg (1294 lb)
|
|
To 1500 mm (59 in) (X)
|
444 kg (977 lb)
|
|
Breakout Force
|
|
At Pivot Point (Y)
|
7580 N (1704 lbf)
|
|
500 mm forward of the Pivot point (Z)
|
5356 N (1204 lbf)
|
|
Bucket Rollback Force
|
|
At Maximum Height (VV)
|
6374 N (1433 lbf)
|
|
At 1500 mm (59 in) Lift Height (XX)
|
8069 N (1814 lbf)
|
|
At Ground Level Line (ZZ)
|
6325 N (1422 lbf)
|
|
1 (Specifications and design subject
to change without notice)
|
OUO6064,0001C00-19-20180213
|
|