-

W27171-UN-10DEC15

W27065-UN-11SEP15
A - Storage Position (1 each side)
B - Quick-Lock Pin (1 each side)
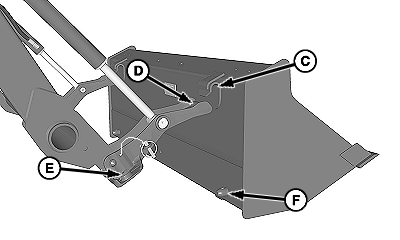
C - Hook (1 each side)
D - Holder (1 each side)
E - Holder Strap (1 each side)
F - Bucket Pin (1 each side)
The attaching procedure is the same for all attachments.
Bucket attachment shown.
Start the engine.
-
Raise the loader boom just off the ground and tilt holders (D)
forward by extending bucket cylinders.
-
Drive forward and center holders (D) under and in between hooks
(C) on the bucket.
-
Raise the loader boom until the holders engage hooks on sides
of the bucket.
-
Retract bucket cylinders until bucket pins (F) engage holder
straps (E) on each side of the bucket.
-
Raise the loader boom 460 mm (18 in) above the ground.
-
Set the park brake and place the transmission in PARK. Shut
off engine and remove ignition key.
-
Remove quick-lock pins (B) from the storage position (A) on
each side of the bucket and install into bucket pins.