Install Hitch Pin Bushings on Ballast Box for Category 1 Quick
Coupler Hitch
Install bushings on both hitch pins, right-hand side shown.
-

W04939-UN-22JUL02
A - Bushing
B - Bushing
C - Spring Pin
Install bushing (A) onto the hitch pin, orientate cross hole
as shown.
-
Install bushing (B) as shown.
-
Align holes in bushings with the hole in hitch pin and install
spring pin (C).
-

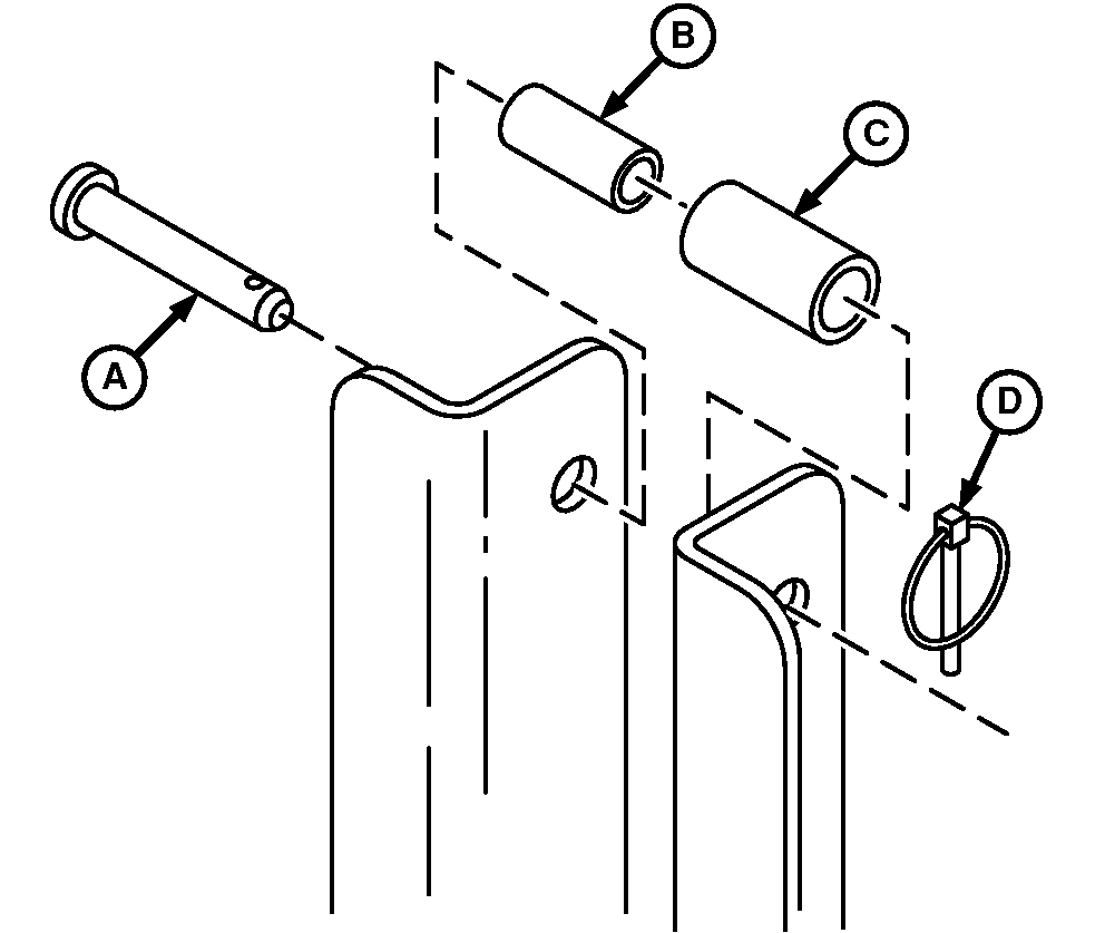
W05063-UN-05FEB02
A - Center Link Pin
B - Bushing (Small)
C - Bushing (Large)
D - Quick-Lock Pin
Assemble bushings (B and C).
-
Insert center link pin (A) through the ballast box mast and
bushing assembly. Fasten with a quick-lock pin (D).
|
|
OUO6064,000172C-19-20160718
|
|