120R Loader Specifications on 1023E and 1026R Tractors—1350 mm Bucket

W27082
W27082-UN-14SEP15


1023E and 1026R Series Tractors1

Minimum Rear Ballast

Option 1

273 kg (602 lb) rear hitch ballast

Plus fluid filled rear tires

Option 2

230 kg (507 lb) rear hitch ballast

Plus 3 rear wheel weights per wheel

Option 3

235 kg (518 lb) rear hitch ballast

Plus 1 rear wheel weights per wheel

Plus fluid filled rear tires

Minimum Front Tire Load Index

Front Tires

18x8.5-10 4PR

Rear Tires

26x12-12 4PR

Materials Bucket

Width

1350 mm (53 in)

Length

Mass

83 kg (183 lb)

Hydraulic System

Rated Flow

26.5 L/min (7.0 gal/min)

Maximum Pressure

14 800 kPa (148 bar) (2146 psi)

Cycle Times (in seconds)

Loader Raise Time

3.8

Loader Lower Time

3.2

Bucket Dump Time

4.2

Bucket Rollback Time

2.6

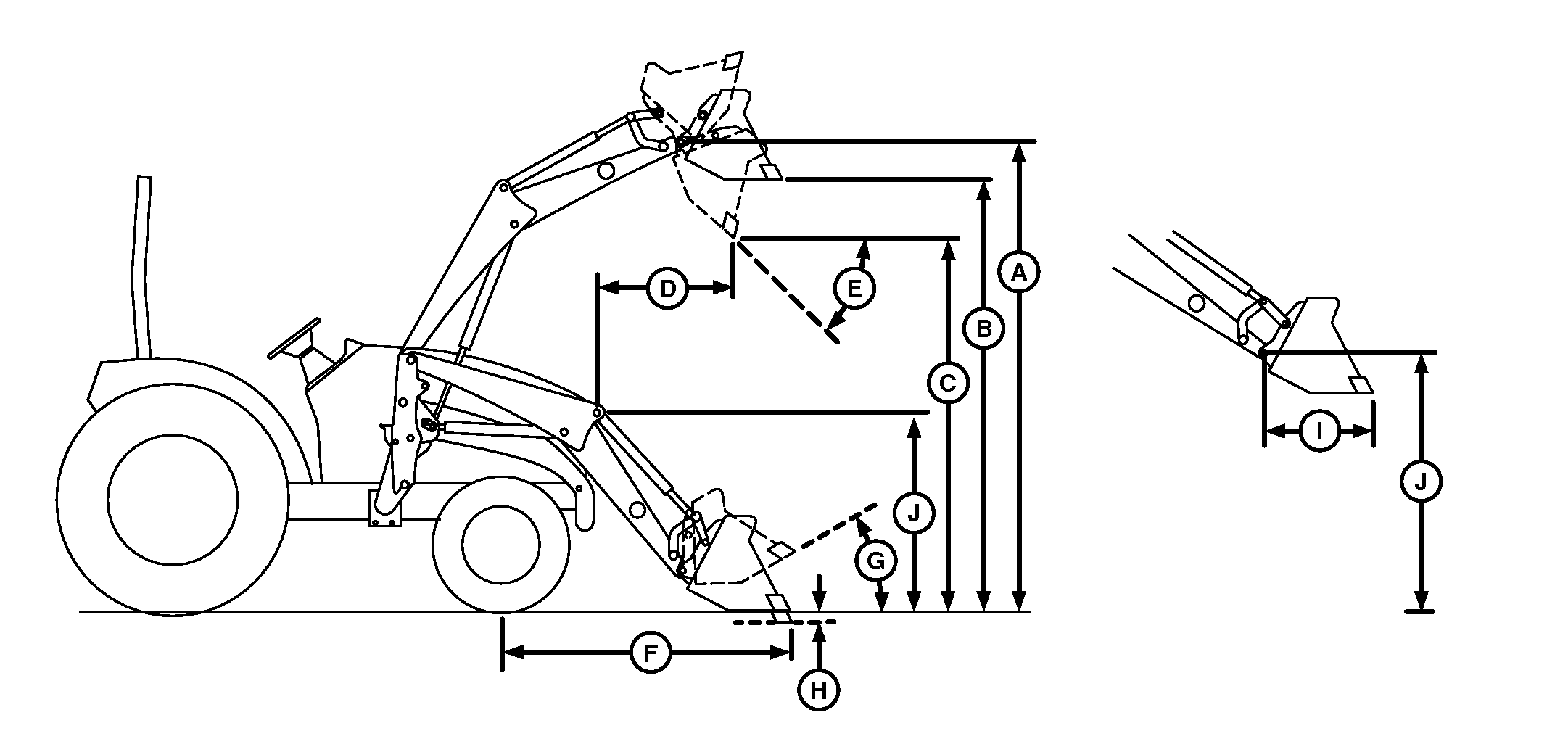
Lift Height (Maximum)

To Pivot Pin (A)

1828 mm (72 in)

Clearance

Bucket Level (B)

1666 mm (66 in)

Bucket Dumped (C)

1304 mm (51 in)

Digging Depth (H)

86 mm (3 in)

Reach

At Maximum Lift Height with Bucket Dumped (D)

698 mm (28 in)

Bucket on Ground with Bucket Leveled (F)

1288 mm (51 in)

Angles (Maximum)

Dump at Full Height (E)

41°

Dump at Ground

115°

Roll back at Ground (G)

30°

Lift Capacity

To Maximum Height (A) at Pivot Point

320 kg (706 lb)

To Maximum Height (A) at 500 mm (19.7 in) (I) Forward of Pivot Point

235 kg (518 lb)

To 1500 mm (59 in) (J) at Pivot Pin

335 kg (739 lb)

Breakout Force

At Pivot Point (Y)

824 kg-force (1816 lbf)

500 mm (19.7 in) Forward of Pivot Point (Z)

591 kg-force (1302 lbf)

1 (Specifications and design subject to change without notice)

OUO6064,0001E96-19-20180130