Aiming Headlights

RW26898


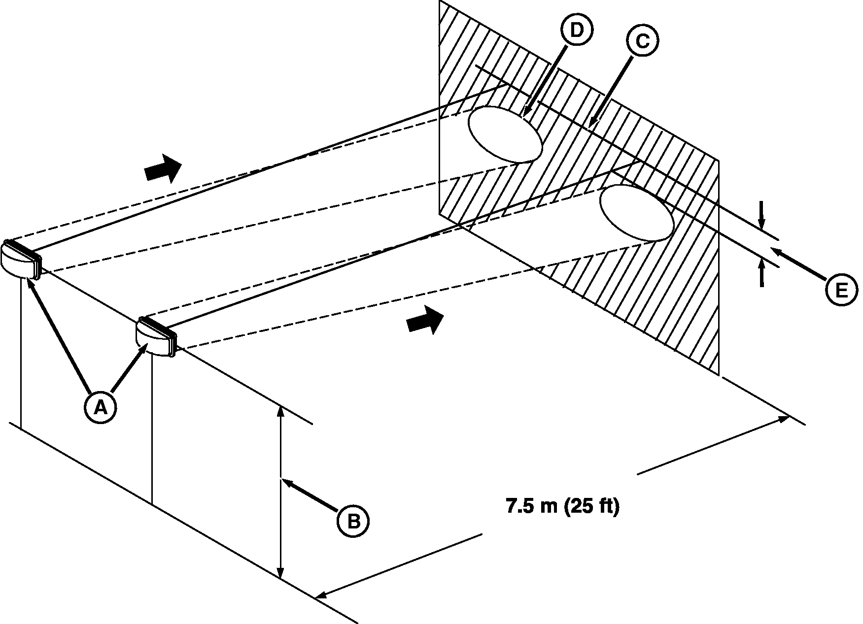
A-Head Lights
B-Distance from Center of Head Light to Ground


C-Horizontal Line on Wall


D-Border of Bright Area


E-10% of Distance (B)

1. Park tractor on a level surface with headlights (A) 7.5 meters (25 ft) from a vertical wall.

2. Measure the distance (B) from the center of a headlight to the ground.

3. Mark a horizontal line (C) on the wall, the same distance from the ground as (B).

4. Set headlights on low beam and observe bright areas on the wall.

5. Adjust headlights so the upper border of bright area (D) is at least 10% of distance (B) below line (C). (See Adjusting Headlights in this section.)

OUO1043,0000250 -19-05AUG03-1/1