Adjust 540E PTO Throttle Limiter (Isolated Open Operator Station and Cab)

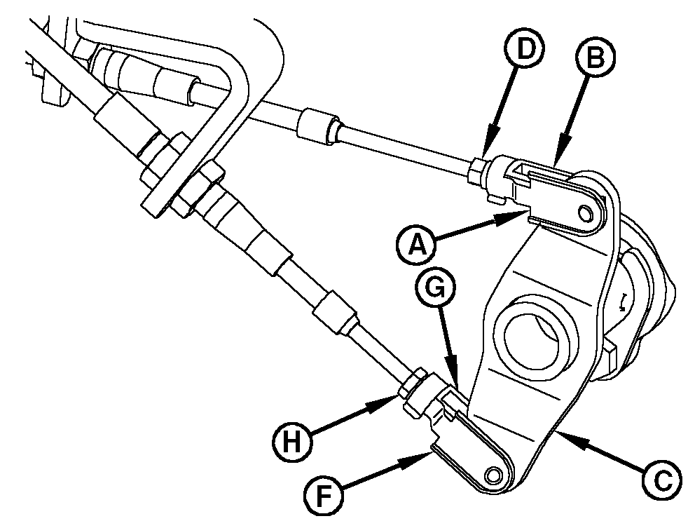
1. Remove clip pin (A) and disconnect clevis (B) from speed shift arm (C).

2. Shift PTO 540/540E speed shift lever (E) to the rearward position.

3. Turn speed shift lever to full rearward position (clockwise).

4. Loosen jam nut (D) and adjust clevis (B) so clip pin (A) aligns with hole in clevis and arm (C). Install clip pin and tighten jam nut (D).

5. Remove clip pin (F) and disconnect clevis (G) from speed shift arm (C).

6. Start engine and increase engine rpm to 1850-1900 with no load.

7. Loosen jam nut (H) and adjust clevis (G) so clip pin (F) aligns with hole in clevis and arm (C). Install clip pin and tighten jam nut (H).

8. Apply a load to PTO shaft and start engine. With the PTO 540/540E speed shift lever in rearward position, push hand throttle forward to stop. Tachometer should read 1700 rpm.

LV5095
LV6347

IOOS Shown; Cab Similar


A-Clip Pin
B-Clevis
C-Arm
D-Jam Nut
E-PTO 540/540E Speed Shift Lever
F-Clip Pin
G-Clevis
H-Jam Nut

OUO1043,00002C6 -19-28FEB02-1/2


9. If engine speed IS NOT 1700 rpm, pull hand throttle back, loosen jam nut (A), and adjust throttle limiter (B) until proper engine speed is attained. If engine speed is above 1700 rpm, turn throttle limiter clockwise. If engine speed is below 1700 rpm, turn throttle limiter counterclockwise.

10. Push hand throttle forward to stop. Ensure engine speed is 1700 rpm. Repeat step 9 as necessary.


A-Jam Nut
B-Throttle Limiter

LV5096

OUO1043,00002C6 -19-28FEB02-2/2