Adjusting Headlights

RW26898


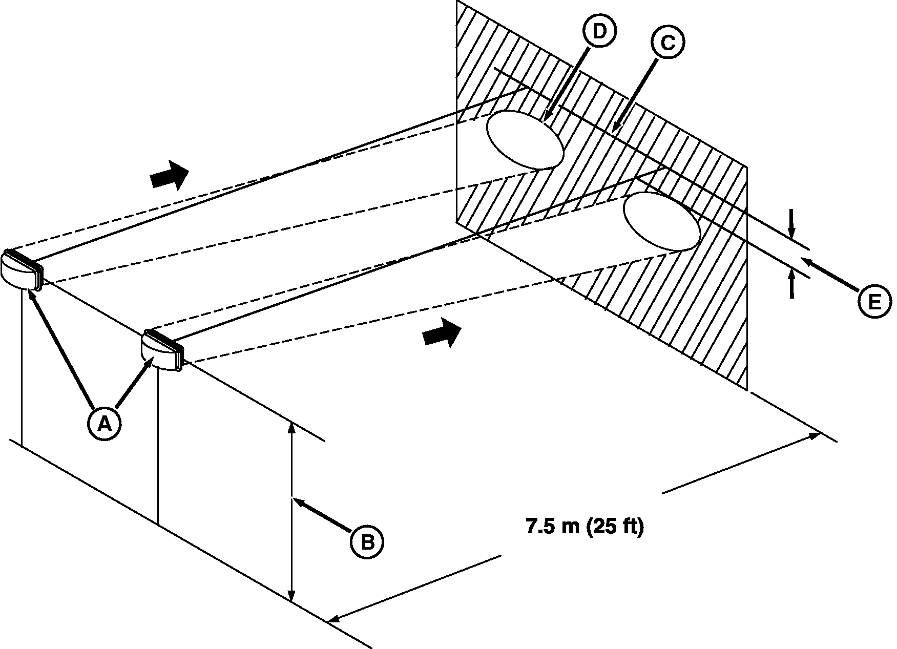
A-Headlights
B-Distance from Center of Headlight to Ground


C-Horizontal Line on Wall


D-Border of Bright Area


E-10% of Distance (B)

1. Park tractor on a level surface with headlights (A) 7.5 meters (25 ft) from a vertical wall.

2. Measure the distance (B) from the center of a headlight to the ground.

3. Mark a horizontal line (C) on the wall, the same distance from the ground as (B).

4. Set headlights on low beam and observe bright areas on the wall.

5. Adjust headlights so the upper border of bright area (D) is at least 10% of distance (B) below line (C).

OUMX005,0001959 -19-31JUL04-1/2


NOTE: Adjustment procedure is the same for BOTH sides. Left-hand side shown. If equipped with loader lights, remove back cover to access adjustment screws.

Loader light (if equipped: Remove back cover.

  • Raise/lower beam: Turn screws (A and B):
    • Counterclockwise to lower beam
    • Clockwise to raise beam
  • Adjust beam IN toward center of tractor: Turn screw (A) counterclockwise and screws (B and C) clockwise an equal number of turns on each screw.
  • Adjust beam OUT from center of tractor: Turn screws (B and C) counterclockwise and screw (A) clockwise an equal number of turns on each screw.

Loader light (if equipped): Install back cover.


A-Screw
B-Screw
C-Screw

LV9509

Headlight

LV9547

Loader Light (If Equipped)

OUMX005,0001959 -19-31JUL04-2/2